Vademecum Marcatura e Sicurezza catene sollevamento
| ID 9842 | | Visite: 44401 | Documenti Riservati Marcatura CE | Permalink: https://www.certifico.com/id/9842 |
Vademecum Marcatura e Sicurezza catene sollevamento
ID 9842 | 11.01.2020
Il Documento allegato illustra la marcatura, l'uso in sicurezza, le verifiche di catene per il sollevamento e relative brache in accordo con EN 818-X (di grado 8), i riferimenti delle Figure e Prospetti riportati seguono quelli delle relative norme.
Disponibile inoltre un Modello di Registro controllo catene previsto dal D.Lgs. 81/2008 Art. 71.
Le catene e brache di catene d'interesse per la gli apparecchi di sollevamento (Direttiva macchina) sono di 2 tipi: grado 4 e grado 8. La gamma di dimensioni nominali delle catene di grado 8 è da 4 mm a 45 mm.
Le catene sono suddivise in gradi, in relazione alle proprietà meccaniche del prodotto finito e non semplicemente alla resistenza del materiale. Ciascun grado è identificato da una lettera per le catene a tolleranza stretta o da un numero per le catene a tolleranza media, in modo da costituire la serie: M,4; p, 5; S,6: T,8; V,10; (vedere nota nel prospetto 0). La lettera o il numero indicano la tensione media corrispondente al carico di rottura minimo, come mostrato nel prospetto 0.
Prospetto 0 Base dei simboli dei gradi
Il grado della catena è individuabile nella targa marcatura CE (obbligatorio):
(*) Catena (Braca) grado 8
Le norme della serie EN 818-X (1,2,3.4,5,6,7) sono le norme di riferimento per la sicurezza delle catene a maglie corte per sollevamento (armonizzate Direttiva macchine 2006/42/CE).
La Direttiva macchine stabilisce che, quando una catena con maglie saldate è usata negli accessori di sollevamento, deve essere del tipo a maglie corte, e ai fini della presente norma, tale catena ha un rapporto 3:1 tra il passo nominale e la dimensione nominale.
Nel Documento sono raccordate le informazioni relative alle norme EN 818-2 e 818-4 per le catene di grado 8 insieme a EN 818-1 e EN 818-6 valide per le catene grado 4 e 8.
Download Estratto Vademecum marcatura e sicurezza catene sollevamento
Il D.Lgs. 81/2008 all'Articolo 71 pone degli obblighi a carico del datore di lavoro in merito all'uso di attrezzature di lavoro, gruppo a cui appartengono anche i vari accessori di sollevamento dei carichi come le funi e le catene.
TIT. III - Uso delle attrezzature di lavoro e dei dispositivi di protezione individuale - Capo I - Uso delle attrezzature di lavoro, Articolo 71 - Obblighi del datore di lavoro:
"8. Fermo restando quanto disposto al comma 4 , il datore di lavoro, secondo le indicazioni fornite dai fabbricanti ovvero, in assenza di queste, dalle pertinenti norme tecniche o dalle buone prassi o da linee guida, provvede affinché:
a) le attrezzature di lavoro la cui sicurezza dipende dalle condizioni di installazione siano sottoposte a un controllo iniziale (dopo l'installazione e prima della messa in esercizio) e ad un controllo dopo ogni montaggio in un nuovo cantiere o in una nuova località di impianto, al fine di assicurarne l'installazione corretta e il buon funzionamento;
b) le attrezzature soggette a influssi che possono provocare deterioramenti suscettibili di dare origine a situazioni pericolose siano sottoposte:
1) ad interventi di controllo periodici, secondo frequenze stabilite in base alle indicazioni fornite dai fabbricanti, ovvero dalle norme di buona tecnica, o in assenza di queste ultime, desumibili dai codici di buona prassi;
2) ad interventi di controllo straordinari al fine di garantire il mantenimento di buone condizioni di sicurezza, ogni volta che intervengano eventi eccezionali che possano avere conseguenze pregiudizievoli per la sicurezza delle attrezzature di lavoro, quali riparazioni trasformazioni, incidenti, fenomeni naturali o periodi prolungati di inattività.
c) Gli interventi di controllo di cui ai lettere a) e b) sono volti ad assicurare il buono stato di conservazione e l'efficienza a fini di sicurezza delle attrezzature di lavoro e devono essere effettuati da persona competente.
9. I risultati dei controlli di cui al comma 8 devono essere riportati per iscritto e, almeno quelli relativi agli ultimi tre anni, devono essere conservati e tenuti a disposizione degli organi di vigilanza.
All. VI - Disposizioni concernenti l'uso delle attrezzature di lavoro, che al punto 3:
"3. Disposizioni concernenti l'uso delle attrezzature di lavoro che servono a sollevare e movimentare carichi
3.1 Disposizioni di carattere generale
...
3.1.2 Le funi e le catene debbono essere sottoposte a controlli trimestrali in mancanza di specifica indicazione da parte del fabbricante".
Pertanto si richiede che vengano rispettate le indicazioni del fabbricante in merito alle verifiche periodiche, o che comunque sia rispettato il termine minimo della verifica trimestrale.
Nulla viene detto in merito a livello legislativo sulla figura di "Persona competente" che deve provvedere a tali controlli e verifiche.
Excursus
Norme brache (catene/funi/tessuto)
Le norme della serie EN 818-X (1,2,3.4,5,6,7) sono le norme di riferimento per la sicurezza delle catene a maglie corte per sollevamento.
Le norme della serie EN 12385-X (1,2,3,4,5,6,…11) e UNI ISO 4309:2019 sono le norme di riferimento per la sicurezza delle funi di acciaio per sollevamento
Le norme della serie EN 1492-X sono le norme di riferimento per la sicurezza delle Brache di tessuto.
Figura 1 – Tipi di brache per sollevamento e norme di riferimento
Brache di catene
La Direttiva macchine stabilisce che, quando una catena con maglie saldate è usata negli accessori di sollevamento, deve essere del tipo a maglie corte, e ai fini della presente norma, tale catena ha un rapporto 3:1 tra il passo nominale e la dimensione nominale:
Figura 2 - Catena a maglie corte
La Direttiva macchine stabilisce che, quando una catena con maglie saldate è usata negli accessori di sollevamento, deve essere del tipo a maglie corte, e ai fini della presente norma, tale catena ha un rapporto 3:1 tra il passo nominale e la dimensione nominale.
Norme della serie 818-X
Le norme della serie 818-X (1,2,3.4,5,6,7) sono le norme di riferimento per la sicurezza delle catene a maglie corte per sollevamento.
Le catene (e brache di catena) a maglie corte si suddividono in grado 4 e grado 8.
Brache di catene a maglie corte per sollevamento, norme da seguire in relazione al grado 4 o 8:
Figura 3 - Flusso applicazione norme della serie 818-X
Nel Documento sono raccordate le informazioni relative alle norme EN 818-2 e 818-4 per le catene di grado 8 insieme a EN 818-1 e EN 818-6 valide per le catene grado 4 e 8.
Catene a maglie corte per sollevamento Grado 8 norme applicabili.
| UNI EN 818-1:2008 Catene a maglie corte per sollevamento - Sicurezza - Parte 1: Condizioni generali di accettazione |
Condizioni accettazione |
| + | + |
| UNI EN 818-2:2008 Catene a maglie corte per sollevamento - Sicurezza Parte 2: Catena di tolleranza media per brache di catena - Grado 8 |
Catena Grado 8 |
| + | + |
| UNI EN 818-4:2008 Catene a maglie corte per sollevamento - Sicurezza Parte 4: Brache di catena - Grado 8 |
Bache di catena Grado 8 |
| + | + |
| UNI EN 818-6:2008 Catene a maglie corte per sollevamento - Sicurezza Parte 6: Brache di catena - Informazioni per l'uso e la manutenzione che devono essere fornite dal fabbricante |
Informazioni uso |
La braca è l’insieme costituito da un braccio o da più bracci di catena, e altri componenti, (per tutte le parti di una braca di catena vedi figura 5 a seguire) es grado 8:
Figura 4 - Braca di catena e catena con campanella e gancio/maglia
Uso delle brache
Scelta della braca
Generalità
Nelle parti corrispondenti delle EN 818 e EN 1677, il carico massimo di esercizio è definito in relazione al normale servizio di sollevamento. Ciò riflette il fatto che gli accessori di sollevamento possono essere e sono usati in un'ampia varietà di situazioni in termini di configurazione, di tipologia di carico, di metodi di aggancio. Le corrispondenti parti della EN 818 contengono considerazioni progettuali e la valutazione dei carichi massimi di esercizio, mentre nella EN 1677 si tiene conto di tali situazioni.
Le EN 818-4 e EN 818-5 presentano un metodo alternativo per valutare i carichi massimi di esercizio, quando una braca è utilizzata esclusivamente per una singola specifica applicazione di sollevamento, essendo note tutte le altre circostanze di uso.
...
EN 818-4:2008
La presente norma europea specifica i requisiti riguardanti la sicurezza e i metodi di valutazione e di prova, per le brache a uno, due, tre, quattro bracci e per le brache di catena senza fine, assemblate con:
a) dispositivi di giunzione meccanica;
b) saldatura;
utilizzanti catene di sollevamento a maglie corte di grado 8 con tolleranza media, conformi alla EN 818-2, insieme con un'appropriata gamma di accessori del medesimo grado.
Definizioni
braca:
Insieme costituito da un braccio o da più bracci di catena unito(i) a terminali superiori e inferiori, per collegare carichi al gancio di una gru o a qualsiasi altro apparecchio di sollevamento.
Dimensione nominale della braga:
Dimensione nominale della catena a maglie corte, in millimetri, impiegata nella fabbricazione della braga
Grado nominale della braca:
Ai fini della designazione conforme all'appendice C, è il medesimo grado della catena a maglie corte impiegata nella fabbricazione della braca, cioè 8.
REQUISITI DI SICUREZZA
Catena
La catena deve essere conforme alla EN 818-2.
Componenti in acciaio fucinato
I componenti in acciaio fucinato, compresi i dispositivi di giunzione meccanica, da utilizzare con catene di grado 8 per costruire brache, devono essere conformi alla EN 1677-1
Maglie
Le campanelle principali e le campanelle intermedie devono essere conformi alla EN 1677-4
Le maglie di estremità inferiori devono essere conformi alla EN 1677-4, eccettuati i paragrafi che riguardano le dimensioni delle maglie.
Le maglie di giunzione e le maglie intermedie devono essere conformi alla EN 1677-4:, eccettuati i paragrafi che riguardano le dimensioni delle maglie.
Le maglie d'estremità inferiori, le maglie di giunzione e le maglie intermedie devono soddisfare i requisiti che le riguardano (5.2 della norma)
Ganci
I ganci di sollevamento in acciaio fucinato con linguetta di sicurezza devono essere conformi alla EN 1677-2
....
Determinazione del carico di esercizio
Brache a braccio singolo
Il carico massimo di esercizio di una braca a braccio singolo deve essere stabilito in conformità al prospetto 3
Brache a più bracci
Il carico massimo di esercizio per le brache a più bracci deve essere stabilito in conformità al prospetto 3 solo per carichi distribuiti simmetricamente.
Ciascuna braca deve avere un carico massimo di esercizio unico per gli angoli compresi fra 0° e 45° (incluso) rispetto alla verticale; a questo può essere aggiunto un carico massimo di esercizio valido per angoli fra 45° e 60° (incluso) rispetto alla verticale.
Brache senza fine
I carichi di utilizzazione delle brache senza fine devono essere determinati solo per la disposizione a scorsoio e in conformità al prospetto 3.
Prospetto 3 Carichi massimi di esercizio
VERIFICA DEI REQUISITI DI SICUREZZA
Qualificazione del personale
Tutte le prove e gli esami devono essere effettuati da persona competente.
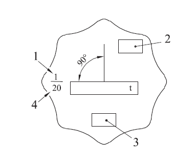
MARCATURA
Generalità
Ogni braca deve essere marcata secondo il presente punto. Le informazioni specificate nei punti 7.2 e 7.3 devono essere marcate su una robusta targa metallica, come illustrato
nell'appendice D, o su un'etichetta permanentemente attaccata alla campanella principale o a una maglia adiacente ad essa.
Nota Le informazioni possono essere anche marcate, in tutto o in parte, sulla campanella principale, purché le proprietà meccaniche della maglia non ne siano indebolite.
7.2 Brache a braccio singolo
Devono essere marcate le seguenti informazioni:
a) il carico massimo dì esercizio in tonnellate, accompagnato dal simbolo, t, dell'unità di misura;
b) marchio di identificazione individuale (correlato al certificato del fabbricante);
c) grado della braca, cioè "8";
d) simbolo o il nome del fabbricante della braca;
e) numero dei bracci, cioè 1.
Nota È facoltativo marcare anche la dimensione nominale.
7.3 Brache a bracci multipli per angoli da 0° a 45° rispetto alla verticale
Devono essere marcate le seguenti informazioni:
a) il carico massimo dì esercizio e l'ampiezza degli angoli
Esempio: 16 t da 0° a 45°;
b) marchio di identificazione individuale (correlato al certificato del fabbricante);
c) grado della braca, cioè "8";
d) simbolo o il nome del fabbricante della braca;
e) numero dei bracci.
Nota 1 In aggiunta, la targa o l'etichetta oppure un'altra targa o un'altra etichetta attaccata in modo similare possono riportare la marcatura del carico massimo di esercizio applicabile all'utilizzazione con angoli compresi fra 45° e 60° rispetto alla verticale.
Esempio: 11,2 t da 45° a 60°.
Nota 2 È facoltativo marcare anche la dimensione nominale.

Figura 7 – Esempi di Marcature
CERTIFICATO DEL FABBRICANTE
8.1 Generalità
Ogni braca assemblata deve essere corredata da un certificato datato che attesti la conformità con questa parte della EN 818 e che dia almeno le seguenti informazioni:
a) il nome del fabbricante della braca o del fornitore, la data del rilascio del certificato e la sua autenticazione;
b) numero e parte di questa norma, cioè EN 818-4;
c) il numero o il simbolo di identificazione della braca;
d) una descrizione della braca, comprendente la lista di tutti i suoi componenti;
e) la dimensione nominale della catena e il grado 8;
f) la lunghezza nominale;
g) il carico massimo di esercizio (WLL).
...
INFORMAZIONI PER L'USO
Le informazioni per l'uso devono accompagnare ogni braca e devono essere conformi ai punti corrispondenti della EN 818-6.
...
1 Brache a braccio singolo
Legenda
1 Campanella principale
2 Dispositivo di giunzione meccanica
3 Catena
4 Dispositivo di giunzione meccanica
5 Gancio o altro accessorio di estremità inferiore
L Lunghezza della braca
a) Braca a braccio singolo con giunzioni metalliche
Figura 1a
...
Braca a due bracci
Legenda
1 Campanella principale
2 Maglia intermedia (se necessaria)
3 Maglia di giunzione
4 Catena
5 Maglia di giunzione
6 Maglia intermedia (se necessaria)
7 Gancio o altro terminale inferiore
L Lunghezza della braca
...
APPENDICE A (normativa)
A METODO ALTERNATIVO PER DETERMINARE IL CARICO MASSIMO DI ESERCIZIO E LA MARCATURA DI UNA BRACA PER UNA SPECIFICA APPLICAZIONE DI SOLLEVAMENTO
Brache a due bracci
Per le brache due bracci utilizzate con un angolo β rispetto alla verticale, il carico massimo di esercizio è dato dalla formula:
WLL = 2 x WLL per un braccio singolo x cos β
Brache a tre e a quattro bracci
Per le brache a tre e quattro bracci utilizzate con un angolo β di ciascun braccio rispetto
alla verticale, il carico massimo di esercizio è dato dalla formula:
WLL = 3 x WLL per un braccio singolo x cos β
Nota Nel caso di una braca a quattro bracci, se si sono prese misure adeguate per ottenere una distribuzione uniforme del carico fra ciascun braccio, tutti e quattro i bracci possono essere considerati portanti. In tali circostanze, il carico massimo di esercizio di una braca a quattro bracci può essere basato sulla formula:
WLL = 4 x WLL per un braccio singolo x cos β
APPENDICE B (informativa)
BASI PER CALCOLARE I VALORI DEL CARICO MASSIMO DI ESERCIZIO
Valori calcolati del carico massimo di esercizio (WLL) per brache a braccio singolo
I valori calcolati per il carico massimo di esercizio sono basati sulla seguente equazione:
dove:
WLL è espresso in tonnellate;
g è l'accelerazione di gravità (9,80665 m/s2).
I valori calcolati sono stati arrotondati per difetto al valore appropriato della serie R40 dei numeri preferenziali, in conformità alla ISO 497. Questi valori sono elencati nel prospetto 3, colonna 2.
Valori calcolati del carico massimo di esercizio (WLL) per brache a più bracci
Il valori calcolati del carico massimo di esercizio si ottengono moltiplicando i valori ricavati dall'equazione per le brache a braccio singolo per il fattore appropriato indicato nel prospetto 3. Essi sono stati arrotondati per difetto al valore della serie R40 dei numeri preferenziali, in conformità alla ISO 497. Questi valori sono elencati nel prospetto 3, colonne da 3 a 7.
Per esempio per la dimensione nominale di 22 mm:
15,505 X 1,4 = 21,7
Il numero R40 immediatamente inferiore è 21,2.
...
APPENDICE D (informativa)
Targhe di identificazione per braghe
Targhe per brache
Le targhe per le brache devono risultare inscritte in un cerchio con diametro di circa 70 mm e gli esempi sono forniti nelle figure D.1 e D.2.
0.1 Targhe per brache a braccio singolo
Legenda
1 Numero dei bracci di catena
2 Nome o simbolo del fabbricante
3 Marchio individuale di identificazione
4 Numero codice rappresentante la dimensione nominale della catena in mm
Faccia anteriore (faccia posteriore pulita)
Figura D1
Targhe per brache a bracci multipli
Legenda
1 Numero dei bracci di catena
2 Numero codice rappresentante la dimensione nominale della catena in mm
3 Faccia anteriore (faccia posteriore pulita)
4 Faccia anteriore
5 Faccia posteriore (se indicazioni particolari sono ripartite tra due facce)
....
Figura D2
EN 818-6:2008
La presente parte della EN 818 specifica le informazioni di uso e manutenzione che il fabbricante deve fornire con le brache conformi alle EN 818-4:1996+A 1 e EN 818-5:1999+A.
L'appendice A è informativa e descrive in dettaglio certe informazioni di uso e manutenzione che possono essere validamente utilizzate.
I pericoli coperti dalla presente parte della EN 818 sono identificati nel punto 4.
Termini e definizioni
Ai fini della presente parte della EN 818, si applicano i termini, le definizioni e i simboli riportati nella EN 818-1 :1996+A1 e i seguenti.
ispezione: Controllo visivo relativo allo stato della braca per individuare evidenti danneggiamenti o usure che possano alterarne l'attitudine all'impiego.
esame accurato: Esame visivo effettuato da una persona competente e, se necessario, coadiuvato da altri mezzi, quali i controlli non-distruttivi, al fine di individuare danneggiamenti o usure che possono alterare l'attitudine all'impiego della braca.
...
Requisiti di sicurezza
Generalità
Il fabbricante deve provvedere informazioni documentate per tutti gli argomenti elencati dal punto 5.2 al punto 5.6.
L'appendice informativa A contiene una guida in aiuto alla preparazione di queste informazioni.
Restrizioni sull'alterazione dello stato di finitura delle brache
Devono essere indicate tutte le restrizioni dovute alle alterazioni conseguenti ai trattamenti seguenti:
a) trattamento termico;
b) decappaggio (vedere anche punto A.1.1.2.2.1 );
c) protezione galvanica;
d) ricoprimento.
Limitazioni dell'uso delle brache per condizioni ambientali avverse o per condizioni di pericolo
Devono essere indicate tutte le limitazioni all'uso delle brache causate da quanto segue:
a) ambiente avverso (vedere anche punto A.1.1.2);
b) condizioni di pericolo (vedere anche punto A.1.1.3).
Azioni da intraprendere precedentemente alla prima messa in servizio della braca
Devono essere fornite istruzioni su quanto segue (vedere anche punto A.1 .2.1):
a) la necessità di disporre del certificato del fabbricante;
b) la necessità di registrare tutti i dettagli della braca nella documentazione dell'apparecchio di sollevamento;
c) la disponibilità delle istruzioni per l'uso della braca e un'informazione per una adeguata preparazione del personale addetto.
Informazioni sull'uso corretto della braca
Si devono fornire istruzioni su quanto segue:
a) determinazione della massa del carico, del suo centro di gravità, dei punti di attacco e del metodo di aggancio;
b) controllo della conformità del metodo di sollevamento e della massa del carico rispetto al carico massimo di esercizio specificato dal fabbricante per la configurazione di lavoro;
c) aggancio della braca al gancio dell'apparecchio di sollevamento;
d) fissaggio della braca al carico: attacco diretto, a nodo scorsoio, a cesto, con elementi speciali;
e) protezione della braca e del carico;
f) controllo della rotazione del carico;
g) assicurazione dell'equilibratura del carico;
h) uso corretto dei dispositivi di accorciamento;
i) prevenzione degli urti durante l'applicazione del carico;
j) garanzia di sicurezza per il personale;
k) fissaggio corretto dei perni porta-carico nei componenti, in conformità alle parti della EN 1677, se è il caso;
I) utilizzo corretto delle chiusure di forza;
m) uso di un numero di bracci inferiore al totale;
n) preparazione del luogo di posa;
o) distacco della braca dal carico;
p) corretto immagazzinamento della braca.
Esame accurato e manutenzione periodica
Devono essere fornite informazioni su quanto segue:
a) criteri di dismissione;
b) riparazioni, sostituzioni, ripetizioni di prove, certificazione;
c) registrazioni di esami e di manutenzioni.
Fig. --- Registro di controllo (allegato)
...
segue documento completo in allegato
Certifico Srl - IT | Rev. 00 2020
©Copia autorizzata Abbonati
Pagine 58
Collegati
Lista di controllo accessori di sollevamento
Check list verifica catene carrelli elevatori
| Descrizione | Livello | Dimensione | Downloads | |
|---|---|---|---|---|
| Vademecum Sicurezza catene sollevamento Rev. 00 2020.docx Certifico S.r.l. Rev. 00 2020 |
2296 kB | 443 | ||
| Vademecum Marcatura e Sicurezza catene sollevamento Rev. 00 2020.pdf Certifico S.r.l. Rev. 00 2020 |
2092 kB | 455 |
Tags: Marcatura CE Direttiva macchine Abbonati Marcatura CE Vademecum




















