CEI 64-12: Guida esecuzione impianto di terra edifici residenziale e terziario
| ID 8056 | | Visite: 41301 | Documenti impianti riservati | Permalink: https://www.certifico.com/id/8056 |
Guida esecuzione impianto di terra edifici residenziale e terziario
ID 8056 | 26 Marzo 2019
Il presente Documento, estratto dalla Guida CEI 64-12, fornisce informazioni relative alla realizzazione degli impianti di terra. Questa terza edizione della guida contiene modifiche dovute all’aggiornamento tecnico legislativo dovuto a nuove norme e leggi uscite dalla precedente edizione della Guida; alcune modifiche sono state apportate nel Capitolo dedicato alla protezione contro i fulmini in seguito alla pubblicazione delle nuove Norme CEI EN 62305 (CEI 81-10).
La Guida è stata preparata con lo scopo di indicare agli operatori edili e ai committenti i notevoli vantaggi economici e tecnici che si possono ottenere con un tempestivo e coordinato intervento degli operatori elettrici prima e durante la costruzione delle opere edili (per es. utilizzando gli scavi delle armature metalliche del calcestruzzo armato prima del getto di cemento) e di fornire agli operatori elettrici informazioni utili per realizzare correttamente i vari interventi.
Excursus
1 Introduzione
Nella Guida vengono trattati gli impianti di terra di impianti elettrici alimentati da sistemi di I categoria (cioè oltre 50 V fino a 1 000 V compresi, se a corrente alternata, o oltre 120 V fino a 1 500 V compresi, se a corrente continua) e di II categoria (cioè oltre 1 000 V se a corrente alternata o oltre 1 500 V se a corrente continua, fino a 35 000 V compresi) e vengono fornite informazioni sulla progettazione ed esecuzione dei dispersori, dei conduttori di terra, dei conduttori equipotenziali principali, i conduttori di protezione e dei conduttori equipotenziali supplementari. Gli esempi mostrati Guida rappresentano, sulla base delle Norme CEI 64-8 e CEI EN 50522 possibili soluzioni impiantistiche realizzabili correttamente.
...
3 Definizioni per la messa a terra
NOTA Le foto di questo capitolo vogliono rappresentare l’oggetto delle definizioni e, come tali, sono indicative.
3.1 Terra
Il terreno come conduttore il cui potenziale elettrico in ogni punto è convenzionalmente considerato uguale a zero.
3.2 Dispersore
Corpo conduttore o gruppo di corpi conduttori in contatto elettrico con il terreno e che realizza un collegamento elettrico con la terra.
NOTA: Una parte conduttrice annegata nel calcestruzzo di una fondazione è considerata in contatto elettrico con la terra.
Il dispersore è “intenzionale” quando è installato unicamente per scopi inerenti alla messa a terra di impianti elettrici. Il dispersore è “di fatto” quando è installato per scopi non inerenti alla messa a terra di impianti elettrici.
3.2.1 Dispersore verticale
profilato, tubo o asta metallica infisso nel terreno
3.2.2 Dispersore orizzontale
conduttore interrato costituito da nastro, tondino o a corda che può essere disposto in modo radiale, ad anello, a maglia o da una loro combinazione
...
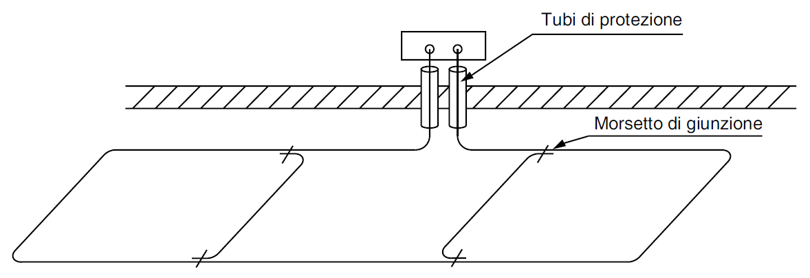
4.2.3 Principali configurazioni
Il tipo più comunemente utilizzato di dispersore ad elementi orizzontali è quello ad anello.
L’elemento orizzontale è chiuso ad anello riducendo preferibilmente al minimo le eventuali giunzioni.
Dopo la ricongiunzione è preferibile collegare i due terminali tramite due conduttori di terra al collettore principale di terra.
La configurazione ad anello all’esterno del fabbricato è da preferire, in quanto può essere utilizzata come elemento di dispersione per l’impianto di protezione contro le scariche atmosferiche, se previsto.
La configurazione ad anello è vantaggiosa nelle costruzioni edili in cui si possono utilizzare gli scavi delle fondazioni o destinati ad altri scopi.
Figura 4.1 – Esempio di configurazione ad anello
Una configurazione a maglia si ottiene integrando gli elementi intenzionali ad anello con collegamenti trasversali, preferibilmente in corrispondenza di eventuali elementi di fatto del dispersore.
Figura 4.2 – Esempio di configurazione a maglia
...
4.2.1 Esempi di dispersore
Legenda
1 - Dispersore orizzontale ad anello (intenzionale)
2 - Conduttore di terra CT (in tubazione protettiva)
3 - Collettore (o nodo) principale di terra MET
4 - Collegamento equipotenziale principale EQP
5 - Massa estranea
6 - Collegamenti di protezione
7 - Collegamento ai ferri dell’armatura del calcestruzzo armato (dispersore di fatto)
Fig. 4.3 - Villetta o piccola unità in calcestruzzo armato (con dispersore artificiale)
...
Segue in allegato
Fonte
CEI 64-12:2019
Guida per l'esecuzione dell'impianto di terra negli edifici per uso residenziale e terziario
Certifico Srl - IT | Rev. 00 2019
©Copia autorizzata Abbonati
Collegati
CNPI | Linea guida verifica e controlli impianti elettrici
CEI 64-12 Ed. 3. 2018
Certifico Manutenzione impianti elettrici
| Descrizione | Livello | Dimensione | Downloads | |
|---|---|---|---|---|
| Guida esecuzione impianto di terra edifici residenziale e terziario - CEI 64-12 Rev. 00 2019.pdf Certifico S.r.l. Rev. 00 2019 |
1410 kB | 307 |






















