Vademecum impianti a gas uso domestico n. 2 | UNI 7129-2:2015
| ID 5370 | | Visite: 96830 | Documenti impianti riservati | Permalink: https://www.certifico.com/id/5370 |
Vademecum impianti a gas uso domestico n. 2 | UNI 7129-2:2015
Il presente documento (N. 2 della serie di 5 documenti previsti) illustra, con il supporto di immagini, l’installazione degli apparecchi di utilizzazione, la ventilazione e l’aerazione dei locali di installazione, in base a quanto indicato nella norma UNI 7129:2:2015.
Ai sensi della legge n. 1083/71 e del Decreto MISE 30 Settembre 2015, la norma UNI 7129-1:X è "regola della buona tecnica" (vedi commento in calce) per la sicurezza dell'impiego del gas combustibile.
1. Vademecum Impianti a gas uso domestico N. 1 | UNI 7129-1:2015
2. Vademecum Impianti a gas uso domestico N. 2 | UNI 7129-2:2015
3. Vademecum Impianti a gas uso domestico N. 3 | UNI 7129-3:2015
4. Vademecum Impianti a gas uso domestico N. 4 | UNI 7129-4:2015
5. Vademecum Impianti a gas uso domestico N. 5 | UNI 7129-5:2015
Il presente documento è elaborato sulla norma UNI 7129-2:2015 (Edizione 2015) - Impianti a gas per uso domestico e similare alimentati da rete di distribuzione - Progettazione, installazione e messa in servizio - Parte 2: Installazione degli apparecchi di utilizzazione, ventilazione, e aerazione dei locali di installazione.
La presente norma si applica agli impianti domestici e similari per l'utilizzazione dei gas combustibili appartenenti alla 1a ,2a e 3a famiglia di cui alla UNI EN 437 ed alimentati da rete di distribuzione di cui alla UNI 9165 e UNI 10682.
La norma definisce i criteri per l'installazione di apparecchi aventi singola portata termica nominale massima non maggiore di 35 kW e per la realizzazione della ventilazione e/o aerazione dei locali di installazione.
Excursus
Installazione degli apparecchi di utilizzazione
Per ogni tipologia di installazione devono essere scelti e utilizzati materiali, componenti e apparecchi dichiarati idonei all'impiego previsto e conformi alle norme applicabili, nel rispetto della legislazione vigente.
Non è consentita l'installazione di apparecchi privi del dispositivo di sorveglianza di fiamma nei seguenti casi:
- impianti nuovi;
- installazione di apparecchi in impianti esistenti
- sostituzione di apparecchi;
- trasformazione o rifacimento di impianti.
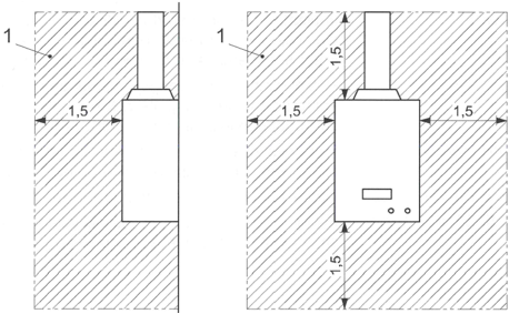
Gli apparecchi a gas devono essere installati ad una distanza di almeno 1 ,5 m da eventuali contatori, siano essi elettrici o del gas (figura 1).
Figura 1 Zona di rispetto di un apparecchio a gas posto in adiacenza di un contatore a gas o elettrico (rif. UNI 7129:2:2015 par. 4.1 fig.1)
Legenda
1 Zona di rispetto
Dimensioni in metri
...
Ventilazione e aerazione dei locali di installazione
Di seguito sono indicate le modalità di realizzazione delle aperture e dei canali di ventilazione ed aerazione, il loro posizionamento e le caratteristiche tecnico-costruttive.
Schema 1 – Riepilogo ventilazione e aerazione dei locali di installazione
...
Verifica della funzionalità delle aperture dl ventilazione mediante la misura della differenza dl pressione statica
Metodo di verifica
Il corretto afflusso di aria comburente può essere controllato attraverso la misura della differenza di pressione tra l'esterno ed il locale in cui sono installati gli apparecchi. La misura della differenza di pressione deve essere eseguita con strumenti di misura della pressione, aventi le caratteristiche minime riportate nel prospetto 2.
Il metodo sotto riportato può sostituire la misura diretta delle dimensioni dell'apertura di ventilazione nei casi in cui sono installati apparecchi di tipo B e/o apparecchi di cottura dotati di dispositivi di sorveglianza di fiamma.
Il metodo non può essere applicate in presenza di apparecchi di tipo A o di apparecchi di cottura non dotati di dispositivi di sorveglianza di fiamma.
Prospetto 2 - Caratteristiche degli strumenti di misura della pressione (rif. UNI 7129:2:2015 Appendice C Prospetto C.1)
...
Indice
Premessa
1. Installazione degli apparecchi di utilizzazione
1.1 Prescrizioni generali
1.2 Installazione di apparecchi all'esterno
1.3 Installazione di apparecchi in vano tecnico
1.4 lnstallazione di apparecchi all'interno dei locali non presidiati
1.5 lnstallazione di apparecchi all'interno dei locali di abitazione
1.6 Installazione di apparecchi in presenza di sistemi di ventilazione meccanica controllata (VMC)
1.7 Idoneità dei locali di installazione
1.7.1 Prescrizioni e divieti
2. Caratteristiche dei locali di installazione in funzione della tipologia di apparecchio
2.1 Locale d'installazione di apparecchi di cottura
2.1.1 Locale d'installazione di apparecchi di tipo A
2.1.2 Locale d'installazione di apparecchi di tipo B
2.1.3 Locale di installazione di apparecchi di tipo C
2.2 Ventilazione e aerazione dei locali di installazione
2.2.1 Modalità di realizzazione della ventilazione e aerazione dei locali di installazione
2.2.1.1 Ventilazione e/o aerazione diretta
2.2.1.2 Ventilazione indiretta
3. Sezione netta delle aperture
3.1 Calcolo della sezione netta totale delle aperture di ventilazione
3.2 Caratteristiche delle aperture di ventilazione e di aerazione
3.2.1 Caratteristiche delle aperture di aerazione
3.2.2 Caratteristiche delle aperture di ventilazione
3.3 Metodologia di calcolo per determinare la sezione totale netta delle aperture dl ventilazione
3.3.1 Procedura di calcolo
4. Sistemi per l’aerazione e la ventilazione meccanica controllata
4.1 Sistema di ricambio di aria
4.2 Sistema di ventilazione meccanica controllata (VMC)
5. Verifica della funzionalità delle aperture dl ventilazione mediante la misura della differenza dl pressione statica
5.1 Metodo di verifica
5.2 Procedura di verifica
Fonti
Fonte: UNI 7129-2:2015 (Edizione 2015) - Impianti a gas per uso domestico e similare alimentati da rete di distribuzione - Progettazione, installazione e messa in servizio - Parte 2: Installazione degli apparecchi di utilizzazione, ventilazione, e aerazione dei locali di installazione.
_____________
Riquadro di commento:
Ai sensi della Legge 1083/71 e del Decreto MISE 30 Settembre 2015 la UNI 7129:2008 non è abrogata ma in questo momento "convive" con la UNI 7129:2015, e lo sarà fino all'abrogazione dell'Ed. 2008 per decreto, contestualmente all'approvazione come norma "stato della buona tecnica" della nuova Ed. 2015.
La possibilità per gli operatori di scegliere comunque, l'una o l'altra edizione, consentirà di comprendere e applicare le novità dell'edizione 2015 In particolare per i “nuovi materiali” ed anche per i riferimenti a nuove norme / modifiche / sostituzioni / abrogazioni rispetto a quelle riportate nell’edizione 2008.
Correlati:
Legge 6 dicembre 1971 n. 1083
Decreto MISE 30 settembre 2015
Vademecum Impianti a gas uso domestico N. 1 | UNI 7129-1:2015
| Descrizione | Livello | Dimensione | Downloads | |
|---|---|---|---|---|
| Vademecum illustrato Impianti gas domestici N. 2 - UNI 7129-2 2015.pdf |
1536 kB | 370 |




















