Quote e posizionamento sbocco camini estradosso tetti - UNI 10683
| ID 23076 | | Visite: 3759 | Documenti riservati Costruzioni | Permalink: https://www.certifico.com/id/23076 |
Quote e posizionamento sbocco camini estradosso tetti - UNI 10683 Generatori di calore legna o biocombustibili solidi
ID 23076 | 08.12.2024 / In allegato documento completo
Il Documento, estratto dalla norma UNI 10683 Generatori di calore alimentati a legna o altri biocombustibili solidi - Verifica, installazione, controllo e manutenzione, illustra i Cap. 8.9 e 8.10 relativi alla quota di sbocco (8.9) e posizionamento sbocco (8.10) dei prodotti di combustione attraverso i camini estradosso tetto (torrino + comignolo), per tetti inclinati e piani.
Nel dettaglio:
8.9 Quote di sbocco dei prodotti della combustione
8.10 Posizionamento dello sbocco
________
UNI 10683:2022 Generatori di calore alimentati a legna o altri biocombustibili solidi - Verifica, installazione, controllo e manutenzione
La presente norma si applica agli impianti con apparecchi di potenza termica al focolare ≤ 35 kW alimentati con biocombustibili solidi di cui alle norme della serie UNI EN ISO 17225 inclusi gli apparecchi costruiti e/o assemblati in opera o su misura rientranti nella UNI EN 15544, asserviti alla medesima unità immobiliare.
La presente norma definisce i requisiti di verifica, installazione, controllo, pulizia e manutenzione di impianti a biocombustibili solidi destinati:
- al riscaldamento ambiente, con o senza produzione di acqua calda sanitaria e con o senza cottura dei cibi;
- alla sola cottura dei cibi dotati di sistema di evacuazione dei prodotti della combustione;
- alla sola produzione di acqua calda sanitaria dotati di sistema di evacuazione dei prodotti della combustione.
Nel prospetto 1 sono riportate le diverse categorie di apparecchi da riscaldamento degli impianti oggetto della presente norma e i riferimenti della relativa norma di prodotto. La norma non si applica alla verifica e controllo.
prospetto 1 Norme di riferimento degli apparecchi da riscaldamento
La norma si applica ad apparecchi installati in locali e relative pertinenze e in spazi coperti adiacenti alle unità immobiliari (per esempio portici, pompeiane, verande) ad eccezione delle prescrizioni non pertinenti quali per esempio:
- prese d’aria;
- coesistenza con altri apparecchi;
- volumi minimi.
La norma non si applica a impianti di processo.
________
8.9 Quote di sbocco dei prodotti della combustione
8.9.1 Generalità
La quota di sbocco si determina misurando l’altezza minima che intercorre tra l’estradosso del tetto e il punto inferiore della sezione di uscita dei fumi in atmosfera; tale quota deve essere al di fuori della zona di riflusso e a distanza adeguata da ostacoli che impediscano o rendano difficoltosa l’evacuazione dei prodotti della combustione o da aperture o zone accessibili.
8.9.2 Zona di riflusso
La quota di sbocco deve trovarsi al di fuori della zona di riflusso calcolata secondo la figura 22 e il prospetto 6. In prossimità del colmo si considera la minore tra “a” (500 mm) e “c”.
Figura 22 Zona di riflusso per quota di sbocco
Prospetto 6 Zona di riflusso per la quota di sbocco sopra il tetto in pendenza
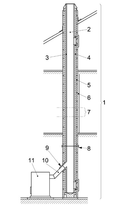
3.11 sistema di evacuazione dei prodotti della combustione (ESPC): Struttura consistente di una o più pareti contenente una o più vie di efflusso (vedere figura 1).
figura 1 Componenti e accessori di un sistema di evacuazione dei prodotti della combustione
Legenda
1 Camino
2 Via di efflusso
3 Condotto fumario
4 Isolamento termico
5 Parete esterna
6 Involucro o rivestimento
7 Sezione del camino
8 Camino multiparete
9 Raccordo del camino
10 Canale da fumo
11 Generatore di calore collegato al SEPC (combustione)
3.15 comignolo: Dispositivo che posto alla bocca del camino permette la dispersione dei prodotti della combustione anche in presenza di avverse condizioni atmosferiche.
3.46 torrino (tratto finale): Parte del camino che fuoriesce dall’estradosso del tetto fino al comignolo.
_________
Con estrapolazione dalla norma (p.ti 3.15 / 3.46), il camino estradosso tetto è così rappresentabile:
A. Tetti inclinati
8.10 Posizionamento dello sbocco
8.10.1 Quota dello sbocco in funzione della distanza da altri dispositivi per l’evacuazione dei prodotti della combustione
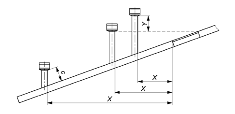
Qualora si debbano installare più dispositivi per l’evacuazione dei prodotti della combustione, oppure si debba installarne uno in prossimità di altro già esistente occorre fare riferimento alle quote di sbocco indicate nella figura 24 e quotate nel prospetto 7.
figura 24 Zona di rispetto per il posizionamento degli sbocchi
prospetto 7 Quota di sbocco in funzione della distanza tra torrini
8.10.2 Quote dello sbocco rispetto ad edifici dotati di tetti in pendenza e con superfici apribili (abbaini e lucernari)
figura 25 Posizionamento dei torrini in prossimità di superfici apribili (abbaini e lucernari)
Legenda
1 Lucernario
2 Abbaino
prospetto 8 Quote delle zone di rispetto in prossimità di lucernari e abbaini apribili
figura 26 Quota dello sbocco in prossimità di lucernari
figura 27 Quote di sbocco in prossimità di abbaini
prospetto 9 Quote di sbocco in prossimità di lucernari eabbaini
B. Tetti piani
8.10.3 Posizionamento del comignolo su edifici dotati di tetto piano
Nel caso di edifici dotati di tetti piani o con inclinazione β minore o uguale a 10° (17,6%) lo sbocco deve essere posizionato rispettando determinate quote in funzione della distanza da ostacoli o volumi tecnici (distanza che varia a seconda della presenza o meno di aperture).
Per terrazzo o lastrico solare si deve rispettare almeno la quota di sbocco relativa al piano di calpestio, come da prospetto 10.
[...]
Segue in allegato
Certifico Srl - IT | Rev. 0.0 2024
©Copia autorizzata Abbonati
Collegati
Legge 3 agosto 2013 n. 90
Decreto Legge 4 giugno 2013 n. 63
Sentenza CS n. 7293 del 28 agosto 2024
| Descrizione | Livello | Dimensione | Downloads | |
|---|---|---|---|---|
| Quote e posizionamento sbocco camini estradosso tetti - UNI 10683 Rev. 0.0 2024.pdf Certifico Srl. - Rev. 0.0 2024 |
384 kB | 102 |






















