EN 16851:2017 Sistemi di gru leggeri - Pericoli/istruzioni uso
| ID 9602 | | Visite: 6247 | Documenti Riservati Normazione | Permalink: https://www.certifico.com/id/9602 |
EN 16851:2017 | Sistemi di gru leggeri - Pericoli/istruzioni uso
ID 9602 | 29.11.2019
Il documento presente sintetizza quali possono essere i pericoli da analizzare durante la progettazione di sistemi di gru leggere e riporta come devono essere redatte le istruzioni per l’uso.
La norma europea EN 16851:2017 si applica a:
- sistemi di gru leggere, sia sospesi sia autoportanti;
- gru a braccio girevole a colonna;
- gru a braccio girevole a parete.
La norma è applicabile a gru e sistemi di gru le cui strutture siano di acciaio o alluminio, escluse le strutture di alluminio contenenti giunti saldati.
La norma non è applicabile a gru contemplate da un'altra norma relativa alle gru specifica di prodotto, per esempio EN 15011 o EN 14985.
La norma indica i requisiti per tutti i pericoli significativi, le situazioni e gli eventi pericolosi concernenti le gru, quando utilizzate come previsto e nelle condizioni indicate dal fabbricante.
I pericoli specifici dovuti ad atmosfere potenzialmente esplosive, radiazioni ionizzanti, attività entro campi elettromagnetici al di fuori dell'ambito indicato nella EN 61000-6-2 e attività nel settore farmaceutico o alimentare non sono trattati dalla EN 16851:2017.
La norma non comprende i requisiti per il sollevamento di persone.
Premessa
Definizioni
Tipologie di sistemi di gru
Pericoli significativi
Istruzioni per l’uso
Manuale dell'operatore
Manuale dell'utilizzatore
Istruzioni per l’installazione
Istruzioni per la manutenzione
Marcatura dei carichi nominali
Excursus
_______
1. Definizioni
ponte: Trave che sostiene uno o più dispositivi di sollevamento e supportata da carrelli che corrono su travi di scorrimento.
trave di scorrimento: Trave fissa su cui corrono un ponte o uno o più dispositivi di sollevamento.
sospensione: Elementi di fissaggio, aste di sospensione e altri componenti mediante i quali una trave di scorrimento è sospesa in un edificio o da un'altra struttura di sostegno.
monorotaia: Trave di scorrimento sulla quale corrono dispositivi di sollevamento o carrelli.
gru a braccio girevole: Gru operante in una posizione fissa, munita di un braccio girevole e uno o più dispositivi di sollevamento.
sistema autoportante: Sistema di gru leggere montate a pavimento.
carrello: Assieme di ruote che corre su una trave di scorrimento o su un ponte e che sostiene un ponte o un dispositivo di sollevamento.
stazione di carico/scarico: Sistema che permette a un tratto di trave di scorrimento di essere abbassato e sollevato insieme al dispositivo di sollevamento o al carrello.
piattaforma girevole: Componente in grado di ruotare su un piano orizzontale e contenente un tratto di trave di scorrimento, che consente al dispositivo di sollevamento o al carrello di cambiare da una trave di scorrimento a un'altra.
scambio: Componente che consente al dispositivo di sollevamento o al carrello di cambiare da una trave di scorrimento a un'altra.
interblocco: Meccanismo che allinea un ponte mobile con una trave di scorrimento fissa o che allinea due ponti e mantiene stabile questa connessione allineata affinché un dispositivo di sollevamento o un carrello si sposti attraverso la connessione.
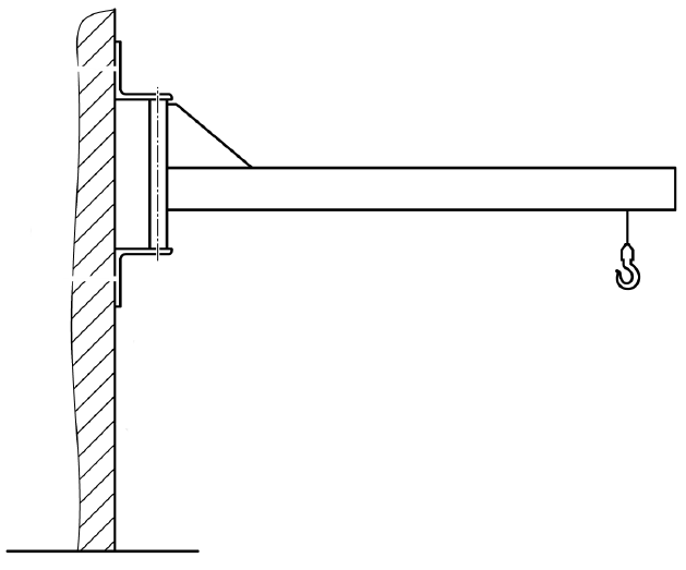
2. Tipologie di sistemi di gru
Gru a braccio girevole a colonna
Gru a braccio girevole a parete
3. Pericoli significativi
... [segue in allegato]
___________
4. Istruzioni per l'uso
La gru deve essere provvista di istruzioni in conformità alla EN ISO 12100 ed EN 12644-1 tranne se indicato diversamente nella presente norma europea.
La durata di progetto della gru in base alle condizioni di servizio scelte (vedere punto 5.1) deve essere indicata dal fabbricante in anni in relazione al carico medio o alla distribuzione del carico e all'utilizzo annuo.
La durata di progetto della gru è definita per fini di calcolo e non dovrebbe essere considerata come una garanzia di durata. Tuttavia, può essere utilizzata come guida ai fini della manutenzione a lungo termine e della riqualificazione; vedere ISO 12482.
Il monitoraggio dell'utilizzo può essere ottenuto mediante l'impiego di dispositivi contatori di cicli; vedere EN 13135 per applicazioni speciali.
...
segue in allegato
Fonti
EN 16851:2017
Gru - Sistemi di gru leggere
Certifico Srl - IT | Rev. 00 2019
©Copia autorizzata Abbonati
Collegati
| Descrizione | Livello | Dimensione | Downloads | |
|---|---|---|---|---|
| EN 16851 2017 Sistemi di gru leggeri - Pericoli istruzioni uso Rev. 00 2019.pdf Certifico Srl - Rev. 00 2019 |
315 kB | 84 |


















