UNI EN 1004-1:2021 Requisiti di sicurezza trabattelli
| ID 19343 | | Visite: 26833 | Documenti Riservati Normazione | Permalink: https://www.certifico.com/id/19343 |
UNI EN 1004-1:2021 Requisiti di sicurezza trabattelli
ID 19343 | 06.04.2023 / Documento di approfondimento in allegato
Documento di approfondimento sui requisiti di sicurezza dei trabattelli costituiti da elementi prefabbricati con dimensioni conformi al progetto e con un’altezza fino a 12 m (all’interno) e fino a 8 metri (all’esterno).
Il documento è stato elaborato in accordo alla norma tecnica UNI EN 1004-1:2021 “Trabattelli costituiti da elementi prefabbricati - Parte 1: Materiali, dimensioni, carichi di progetto, requisiti di sicurezza e prestazionali”.
Data entrata in vigore: 18 Febbraio 2021
Recepisce: EN 1004-1:2020
Sostituisce: UNI EN 1004:2005
La norma si applica ai trabattelli utilizzati come attrezzature provvisionali. La norma fornisce linee guida per la scelta delle dimensioni principali e dei metodi di stabilizzazione, requisiti di sicurezza e prestazionali e alcune informazioni sui trabattelli completi. La norma non si applica ai ponteggi conformi alla UNI EN 12810-1 e alla UNI EN 12811-1.
La norma UNI EN 1004-1:2021 ha sostituito la UNI EN 1004:2005 introducendo moltissime novità.
La prima novità riguarda il campo di applicazione della norma. Nell’edizione precedente veniva applicata ai trabattelli con altezza superiore a 2,5 m. Diversamente, la nuova norma si applica a tutti i trabattelli con un’altezza fino a 12 m (all’interno) e fino a 8 m (all’esterno).
La nuova norma modifica anche la definizione del prodotto: oggi vengono ufficialmente definiti trabattelli e non più “ponti su ruote a torre”.
I trabattelli sono descritti come strutture temporanee che dispongono di stabilità propria, composti da elementi prefabbricati con dimensioni conformi al progetto, quattro piedi con ruote girevoli e una o più piattaforme.
Si precisa inoltre che possono essere utilizzati sia internamente che esternamente: la distinzione dell’utilizzo è data soltanto dalla presenza o meno del vento.
Particolare attenzione viene data all’aumento della sicurezza dell’operatore nel lavoro in quota e in fase di montaggio.
In primo luogo, si distinguono due tipologie di piattaforme in un trabattello: la piattaforma di transito e la piattaforma da lavoro, specificando che soltanto una possa essere adibita al lavoro.
La piattaforma di lavoro è quella in cui verranno eseguiti i lavori: è quindi necessario installare sia il parapetto che le tavole fermapiede, mentre quest’ultime possono non essere collocate nelle piattaforme di transito.
Cambiano anche le distanze tra i piani di lavoro: la distanza massima da terra fino al primo piano è di 3,40 m, tra il primo e il secondo è di massimo 2,25 m. Il piano di base, se presente, non deve essere posizionato ad oltre 0,60 m dal suolo.
I trabattelli inferiori a 2,50 metri: devono essere corredati di piccole staffe, fermapiedi e parapetti su tutti i lati. Inoltre, la ringhiera di protezione dovrà essere di 1 metro.
La novità più importante riguarda la progettazione e il montaggio e smontaggio del trabattello: la nuova UNI EN 1004:2021 prevede il trabattello debba essere montato, smontato e modificato senza l’utilizzo di DPI anti-caduta. Per compiere queste attività, l’operatore deve sempre disporre di una protezione laterale.
Tutto ciò che non è provvisto di montaggio in sicurezza, potrà essere utilizzato con ancoraggio a parete rispettando il D.Lgs. 81/08.
I cambiamenti di questa normativa obbligano i produttori a soddisfare i nuovi requisiti, portandoli a progettare e adottare nuove misure, soprattutto per quanto riguarda le fasi di montaggio, modifica e smontaggio del trabattello: tutte fasi che devono avvenire dal basso.
Applicazione D.Lgs. 81/08
1. I ponti su ruote devono avere base ampia in modo da resistere, con largo margine di sicurezza, ai carichi ed alle oscillazioni cui possono essere sottoposti durante gli spostamenti o per colpi di vento e in modo che non possano essere ribaltati.
2. Il piano di scorrimento delle ruote deve risultare livellato; il carico del ponte sul terreno deve essere opportunamente ripartito con tavoloni o altro mezzo equivalente.
3. Le ruote del ponte in opera devono essere saldamente bloccate con cunei dalle due parti o con sistemi equivalenti. In ogni caso dispositivi appropriati devono impedire lo spostamento involontario dei ponti su ruote durante l'esecuzione dei lavori in quota.
4. I ponti su ruote devono essere ancorati alla costruzione almeno ogni due piani; è ammessa deroga a tale obbligo per i ponti su ruote a torre conformi all'Allegato XXIII.
5. La verticalità dei ponti su ruote deve essere controllata con livello o con pendolino.
6. I ponti, esclusi quelli usati nei lavori per le linee elettriche di contatto, non devono essere spostati quando su di essi si trovano lavoratori o carichi.
1. È ammessa deroga per i ponti su ruote a torre alle seguenti condizioni:
a. il ponte su ruote a torre sia costruito conformemente alla norma tecnica UNI EN 1004;
b. il costruttore fornisca la certificazione del superamento delle prove di rigidezza, di cui all'appendice A della norma tecnica citata, emessa da un laboratorio ufficiale.
Per laboratori ufficiali si intendono:
- laboratorio dell'ISPESL;
- laboratori delle università e dei politecnici dello Stato;
- laboratori degli istituti tecnici di Stato, riconosciuti ai sensi della Legge 5 novembre 1971, n. 1086;
- laboratori autorizzati in conformità all'ALLEGATO XX sezione B titolo IV capo II, con decreto dei Ministri del lavoro e della previdenza sociale, dello sviluppo economico e della salute;
- laboratori dei paesi membri dell'Unione europea o dei Paesi aderenti all'accordo sullo spazio economico europeo riconosciuti dai rispettivi Stati.
c. l'altezza del ponte su ruote non superi 12 m se utilizzato all'interno (assenza di vento) e 8 m se utilizzato all'esterno (presenza di vento);
d. per i ponti su ruote utilizzati all'esterno degli edifici sia realizzato, ove possibile, un fissaggio all'edificio o altra struttura;
e. per il montaggio, uso e smontaggio del ponte su ruote siano seguite le istruzioni indicate dal costruttore in un apposito manuale redatto in accordo alla norma tecnica UNI EN 1004.
2. L'attrezzatura di cui al punto 1 è riconosciuta ed ammessa se legalmente fabbricata o commercializzata in altro Paese membro dell'Unione europea o nei Paesi aderenti all'accordo sullo spazio economico europeo, in modo da garantire un livello di sicurezza equivalente a quello garantito sulla base delle disposizioni, specifiche tecniche e standard previsti dalla normativa italiana in materia.
Circolare n. 30 del 3 novembre 2006
Il Datore di Lavoro secondo quanto previsto dalla Circolare n. 30 del 3 novembre 2006 del M.L.P.S. ha l’obbligo di redigere il PiMUS (piano di montaggio, uso e smontaggio) semplificato completo delle informazioni relative alla specifica realizzazione (ad esempio sugli appoggi e sugli ancoraggi).
Tuttavia, per quanto riguarda i "ponteggi su ruote" (trabattelli) considerate le modalità di montaggio, uso, trasformazione e smontaggio, sostanzialmente ripetitive per tutti i diversi modelli presenti sul mercato, nonché le semplici configurazioni adottabili, peraltro assai difficilmente modificabili - contrariamente a quanto si riscontra per i ponteggi metallici fissi -, per ciò che concerne la redazione del Pi.M.U.S. si ritiene sufficiente il semplice riferimento alle istruzioni obbligatorie fornite dal fabbricante, eventualmente completate da informazioni (ad esempio sugli appoggi e sugli ancoraggi) relative alla specifica realizzazione.
Oggetto: Art. 36-quater, D.Lgs. n. 626/94 e s.m.i. - Obblighi del datore di lavoro relativi all'impiego dei ponteggi - Chiarimenti concernenti i ponteggi su ruote (trabattelli) ed altre attrezzature per l'esecuzione di lavori temporanei in quota in relazione agli obblighi di redazione del piano di montaggio, uso e smontaggio (Pi.M.U.S.) e di formazione. Si fa riferimento alle numerose richieste di chiarimenti riguardanti gli obblighi del datore di lavoro in relazione alle operazioni di montaggio, uso e smontaggio di alcune attrezzature di lavoro per l'esecuzione di lavori temporanei in quota. Al riguardo, con particolare riferimento agli adempimenti, di cui all'art. 36-quater del D.Lgs. n. 626/94 così come introdotto dal D.Lgs. n. 235/03, concernenti la redazione di un piano di montaggio, uso e smontaggio (Pi.M.U.S.), in funzione della complessità del ponteggio scelto e la relativa formazione degli addetti alle succitate previste operazioni, si comunica quanto di seguito riportato. Il comma 4 alla lettera d) del succitato art. 36-quater richiama anche i "ponteggi su ruote" in ordine agli obblighi previsti in generale per i ponteggi. Per tali attrezzature - comunemente denominate "trabattelli" -, considerate le modalità di montaggio, uso, trasformazione e smontaggio, sostanzialmente ripetitive per tutti i diversi modelli presenti sul mercato, nonché le semplici configurazioni adottabili, peraltro assai difficilmente modificabili - contrariamente a quanto si riscontra per i ponteggi metallici fissi -, per ciò che concerne la redazione del Pi.M.U.S. si ritiene sufficiente il semplice riferimento alle istruzioni obbligatorie fornite dal fabbricante, eventualmente completate da informazioni (ad esempio sugli appoggi e sugli ancoraggi) relative alla specifica realizzazione. Per quanto riguarda la formazione degli addetti al montaggio, smontaggio o trasformazione dei trabattelli e per la stessa motivazione di cui sopra, si ritiene che il datore di lavoro debba dare attuazione a quanto già previsto dall'art. 38, comma 1, lettera b) del D.Lgs. n. 626/94, tenendo comunque presente, per ciò che riguarda l'addestramento, i contenuti generali di cui al secondo e al quarto punto del modulo pratico dell'Accordo Stato, regioni e province autonome, del 26 gennaio 2006 pubblicato sulla G.U. in data 23 febbraio 2006. Sempre a proposito di formazione, si evidenzia che il termine di due anni, di cui ai commi 9 e 10 dell'art. 36-quater del D.Lgs. n. 626/94, entro i quali gli addetti alle attività di montaggio, smontaggio o trasformazione di ponteggi sono tenuti a partecipare ai corsi di formazione decorre dalla data di pubblicazione sulla Gazzetta Ufficiale del citato Accordo, precisando che l'obbligo di partecipazione a tali corsi non si estende ai semplici utilizzatori dei ponteggi. Nel periodo transitorio, la pregressa esperienza biennale e triennale, rispettivamente per i lavoratori e per i preposti, che consente l'attività di montaggio, smontaggio o trasformazione di ponteggi, nelle more dell'effettuazione della formazione di cui al succitato art. 36-quater, può essere autocertificata ai sensi di legge dallo stesso lavoratore sotto la propria responsabilità. Tale autocertificazione dovrà fare riferimento all'attività lavorativa svolta presso imprese regolarmente iscritte alla Camera di Commercio, Industria e Artigianato in un settore compatibile con l'attività d'uso dei ponteggi. Per ciò che riguarda altre attrezzature, quali ponti su cavalletti di altezza non superiore a metri 2, ponti sospesi, ponteggi a piani di lavoro autosollevanti e ponti a sbalzo, questo Ministero è dell'avviso che non trovano attuazione né le norme relative al Pi.M.U.S. né quelle relative alla formazione di cui al citato Accordo del 26 gennaio 2006. Infatti i ponti su cavalletti di altezza non superiore a metri 2 sono esclusi dal campo di applicazione della norma; i ponti sospesi e i ponteggi a piani di lavoro autosollevanti sono soggetti alla norme di cui al D.P.R. n. 459/96 e le istruzioni per l'uso che obbligatoriamente accompagnano l'attrezzatura (vedi punto 1.7.4 dell'Allegato 1 al D.P.R. n. 459/96) definiscono le modalità per il montaggio e lo smontaggio dell'attrezzatura e le istruzioni per l'addestramento dei lavoratori ai quali, comunque dovrà essere erogata dal datore di lavoro la formazione di cui al già citato art. 38 del D.Lgs. n. 626/94; i ponti a sbalzo sono soggetti alla normativa specifica di cui al D.P.R. n. 164/56 che, all'art. 25 definisce le regole per il montaggio dei ponti mentre, per ciò che concerne la formazione dei lavoratori, anche in tale ultimo caso il datore di lavoro farà riferimento al disposto di cui al già citato art. 38 del D.Lgs. n. 626/94.
Formazione
I trabattelli vengono utilizzati durante i lavori in quota. In relazione all’elevato rischio si ritiene opportuno che il loro uso sia riservato ai lavoratori allo scopo incaricati che abbiano ricevuto un’informazione, formazione ed addestramento adeguati (art. 71 comma 7 lettera a del D.Lgs 81/08 e s.m.i.).
I contenuti minimi di tali corsi sono indicati nel secondo e quarto punto del modulo pratico del corso ponteggi nell’Accordo Stato, Regioni e province autonome sui corsi di formazione per lavoratori addetti a lavori in quota (vedi Allegato XXI del D.Lgs 81/08 e s.m.i.). Il lavoratore deve seguire corsi di aggiornamento specifici ogni 4 anni.
[...] 7. Qualora le attrezzature richiedano per il loro impiego conoscenze o responsabilità particolari in relazione ai loro rischi specifici, il datore di lavoro prende le misure necessarie affinché:
a) l'uso dell'attrezzatura di lavoro sia riservato ai lavoratori allo scopo incaricati che abbiano ricevuto una informazione, formazione ed addestramento adeguati; [...]
[...]
Estratto UNI EN 1004-1:2021
Il presente documento è una traduzione non ufficiale in lingua italiana di parti della norma UNI EN 1004-1:2021 - Traduzione non ufficiale IT.
3.1 torri mobili di accesso e di lavoro
strutture temporanee autoportanti costituite da elementi prefabbricati, aventi dimensioni fissate dal progetto e quattro gambe con ruote, che prevedono uno o più piattaforme di lavoro
Nota 1: le torri mobili di accesso e di lavoro possono avere telai stabilizzatori o stabilizzatori. Possono essere rese stabili mediante appoggi a terra o puntoni a muro contro strutture stabili o zavorra.
Nota 2: le torri mobili di accesso e di lavoro sono dotate di ruote piroettanti. Le torri mobili di accesso e di lavoro possono essere rimosse immediatamente, in caso di vento superiore alla pressione dinamica equivalente di 0,1 kN/m2 o al termine del turno di lavoro.
[...]
4 Classificazione
4.1 Classi di carico
Le classi di carico uniformemente distribuito sono riportate nella Tabella 1.
Tabella 1 - Classi di carico uniformemente distribuito
[...]
5 Designazione
Per la designazione di tutte le torri mobili prefabbricate di accesso e di lavoro sono necessari i seguenti dati:
a) classe di carico uniformemente distribuito (vedi 4.1);
b) altezza massima all'aperto/all'interno;
c) classi di accesso (vedi 4.2);
d) classi di altezza (vedi 4.3).
Esempio
[...]
7 Requisiti generali
7.1 Generale
Una torre di accesso e di lavoro mobile deve essere costituita solo da una struttura a campata singola.
Le torri di accesso e di lavoro mobili devono essere progettate in modo tale da poter essere montate, modificate e smontate senza la necessità di dispositivi di protezione individuale anticaduta.
Solo una piattaforma può essere una piattaforma di lavoro. Le torri di accesso e di lavoro mobili devono essere progettate in modo tale che la piattaforma più alta sia una piattaforma di lavoro e le piattaforme inferiori siano piattaforme intermedie.
[...]
7.6 Accesso alle piattaforme
7.6.1 Tipi di accesso
Il tipo di accesso è classificato da una lettera A, B, C o D come segue:
- Tipo di accesso A: Scala a rampa;
- Tipo di accesso B: scala a gradini;
- Tipo di accesso C: Scala a pioli inclinata;
- Tipo di accesso D: Scala a pioli verticale.
Quando viene fornita una gamma di tipi di accesso, viene utilizzata una classificazione combinata.
ESEMPI
Tipo AXCX significa che possono essere fornite scale a rampa e scale a pioli inclinate.
Tipo ABCD significa che possono essere forniti tutti e quattro i tipi di accesso.
NOTA La X nella designazione indica che questi tipi di accesso non sono forniti.
[...]
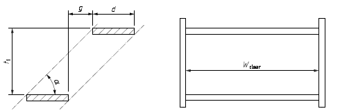
7.6.3.2 Accesso di tipo A - scala (vedi Figura 4)
Le scale devono essere conformi ai seguenti requisiti geometrici:
Alzata verticale del gradino t1 190 mm ≤ t1 ≤ 250mm;
Profondità minima del gradino d d = 125 mm;
Larghezza libera minima wluce wluce = 400 mm;
Distanza orizzontale tra i gradini g0 ≤ g ≤ 50 mm.
Le scale devono essere progettate in conformità con il paragrafo 8.3.3.
Figura 4 - Dimensioni della scala
[...]
8.3.2.2 Carico orizzontale
Tutti i componenti della protezione laterale, ad eccezione dei fermapiedi, devono poter resistere a un carico orizzontale di 0,3 kN in ogni caso nella posizione più sfavorevole. Questo carico può essere distribuito su un'area di 300 mm × 300 mm, ad esempio quando applicato alla rete di una recinzione. Per i fermapiedi il carico orizzontale è di 0,15 kN.
Tabella 3 - Carichi di servizio sull'intera struttura
[...] segue in allegato
Fonti
UNI EN 1004-1:2021
D.Lgs. 81/2008
Circolare n. 30 del 3 novembre 2006
Certifico Srl - IT | Rev. 0.0 2023
©Copia autorizzata Abbonati
Matrice Revisioni:
| Rev. | Data | Oggetto | Autore |
| 0.0 | 06.04.2023 | --- | Certifico Srl |
Collegati
D.Lgs. 81/2008
Circolare n. 30 del 3 novembre 2006
Trabattelli - Guida tecnica per la scelta, l’uso e la manutenzione
Preposto sorveglianza PIMUS / Note e Modello nomina
Ponteggi di facciata: Elementi / Designazione / Classificazione
Ponteggi: Modello di Pi.M.U.S. Piano di Montaggio, Uso e Smontaggio
Check List | Schede di verifica ponteggi
www.tussl.it
| Descrizione | Livello | Dimensione | Downloads | |
|---|---|---|---|---|
| UNI EN 1004-1 2021 Requisiti di sicurezza trabattelli Rev. 0.0 2023.pdf Certifico Srl - Rev. 0.0 2023 |
498 kB | 410 |




















