CEI EN 50419:2023
| ID 19318 | | Visite: 3225 | Documenti CEI | Permalink: https://www.certifico.com/id/19318 |
CEI EN 50419:2023 / Marcatura AEE raccolta differenziata dei rifiuti di AEE (RAEE)
ID 19138 | 26.03.2023 / In allegato Preview
CEI EN 50419
Marcatura delle apparecchiature elettriche ed elettroniche (AEE) per la raccolta differenziata dei rifiuti di AEE (RAEE)
Classificazione CEI: 111-50
Date pubblicazione: 2023-02
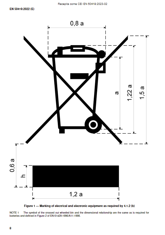
La presente Norma specifica una marcatura delle apparecchiature elettriche ed elettroniche (AEE) al fine di ridurre al minimo lo smaltimento dei rifiuti di AEE (RAEE) come rifiuti indifferenziati e di facilitarne la raccolta differenziata.
La Norma in oggetto sostituisce completamente la Norma CEI EN 50419:2006-05, che rimane applicabile fino al 06-06-2025.
Questa Norma viene pubblicata dal CEI nella sola lingua inglese, in quanto particolarmente mirata a settori specialistici.
Collegati
| Descrizione | Livello | Dimensione | Downloads | |
|---|---|---|---|---|
| CEI EN 50419 2023 Preview.pdf |
1199 kB | 44 |




















