RAPEX Report 16 del 23/04/2021 N. 20 A12/00543/21 Repubblica Ceca
| ID 13451 | | Visite: 1295 | RAPEX 2021 | Permalink: https://www.certifico.com/id/13451 |

RAPEX: Rapid Alert System for Non-Food Consumer Products
Report 16 del 23/04/2021 N. 20 A12/00543/21 Repubblica Ceca
Approfondimento tecnico: Seggiolone per bambini
Il prodotto, di marca 4 BABY® Fashion Red, è stato sottoposto alla procedura di ritiro dal mercato perché non conforme alla Direttiva 2001/95/CE del Parlamento Europeo e del Consiglio del 3 dicembre 2001 relativa alla sicurezza generale dei prodotti ed alla norma tecnica EN 14988:2017 “Seggioloni per bambini - Requisiti e metodi di prova”.
Il seggiolone non è sufficientemente stabile e può facilmente ribaltarsi all'indietro.
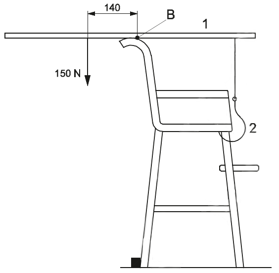
La norma tecnica EN 14988:2017 “Seggioloni per bambini - Requisiti e metodi di prova” al punto 8.12.2.4 descrive come eseguire la prova per verificare che i seggioloni siano sufficientemente stabili da non ribaltarsi all’indietro.
La prova consiste nel posizionare il seggiolone come nella figura seguente ed nell’applicare gradualmente una forza verticale verso il basso di 150 N a una distanza di 140 mm misurata orizzontalmente verso l'esterno dal punto anteriore in cui la trave di prova scarica è appoggiata allo schienale.
La forza deve essere applicata per (60 ± 3)s, a meno che il seggiolone non si ribalti prima.
Fig. 1 - Test stabilità ribaltamento all’indietro
| Descrizione | Livello | Dimensione | Downloads | |
|---|---|---|---|---|
| RAPEX Report 16 del 23_04_2021 N. 20 A12_00543_21 Repubblica Ceca.pdf Seggiolone per bambini |
406 kB | 0 |
Tags: RAPEX












