Check List: controllo e verifica ganci fucinati
| ID 21413 | | Visite: 4588 | Documenti Riservati Sicurezza | Permalink: https://www.certifico.com/id/21413 |
Check List: controllo e verifica ganci fucinati
ID 21413 | 23.02.2024 / Documento di approfondimento e modelli .docx allegati
Documento di approfondimento sui ganci fucinati che sono generalmente utilizzati su apparecchi di sollevamento, come organi portanti o di presa del carico.
Il documento è stato redatto con principale riferimento alle norme:
- UNI EN 13001-3-5:2022 Apparecchi di sollevamento - Criteri generali per il progetto - Parte 3-5: Stati limite e verifica dell'idoneità di ganci di sollevamento fucinati;
- UNI 9465:1989 Ganci per apparecchi di sollevamento. Proprietà meccaniche, portate, tensioni e materiali.
La norma UNI EN 13001-3-5:2022 specifica i principi generali e i requisiti da utilizzare insieme alle norme EN 13001-2 ed EN 13001-3 per le condizioni e i requisiti di progetto da considerare al fine di prevenire i pericoli di natura meccanica degli apparecchi di sollevamento.
La norma UNI 9465:1989 fornisce le proprietà meccaniche, le portate, il materiale e le tensioni in funzione di classi di resistenza meccaniche di ganci fucinati. Essa si applica ai ganci fucinati di acciaio e può essere adottata per analoghi dispositivi di presa dei carichi.
Le differenze tra le due norme vengono in parte riportate nel presente documento. Nella checklist proposta si sono prese in considerazione entrambe le norme in modo da inserire tutte le verifiche possibili.
La norma è di tipo C secondo UNI EN ISO 12100:2010.
Art. 70 - Requisiti di sicurezza
1. Salvo quanto previsto al comma 2, le attrezzature di lavoro messe a disposizione dei lavoratori devono essere conformi alle specifiche disposizioni legislative e regolamentari di recepimento delle direttive comunitarie di prodotto.
2. Le attrezzature di lavoro costruite in assenza di disposizioni legislative e regolamentari di cui al comma 1, e quelle messe a disposizione dei lavoratori antecedentemente all'emanazione di norme legislative e regolamentari di recepimento delle direttive comunitarie di prodotto, devono essere conformi ai requisiti generali di sicurezza di cui all'allegato V.
[…]
Art. 71 - Obblighi del datore di lavoro
1. Il datore di lavoro mette a disposizione dei lavoratori attrezzature conformi ai requisiti di cui all'articolo precedente, idonee ai fini della salute e sicurezza e adeguate al lavoro da svolgere o adattate a tali scopi che devono essere utilizzate conformemente alle disposizioni legislative di recepimento delle direttive comunitarie.
2. All'atto della scelta delle attrezzature di lavoro, il datore di lavoro prende in considerazione:
a) le condizioni e le caratteristiche specifiche del lavoro da svolgere;
b) i rischi presenti nell'ambiente di lavoro;
c) i rischi derivanti dall'impiego delle attrezzature stesse;
d) i rischi derivanti da interferenze con le altre attrezzature già in uso.
3. Il datore di lavoro, al fine di ridurre al minimo i rischi connessi all'uso delle attrezzature di lavoro e per impedire che dette attrezzature possano essere utilizzate per operazioni e secondo condizioni per le quali non sono adatte, adotta adeguate misure tecniche ed organizzative, tra le quali quelle dell'allegato VI.
4. Il datore di lavoro prende le misure necessarie affinché:
a) le attrezzature di lavoro siano:
1) installate ed utilizzate in conformità alle istruzioni d'uso;
2) oggetto di idonea manutenzione al fine di garantire nel tempo la permanenza dei requisiti di sicurezza di cui all'articolo 70 e siano corredate, ove necessario, da apposite istruzioni d'uso e libretto di manutenzione;
3) assoggettate alle misure di aggiornamento dei requisiti minimi di sicurezza stabilite con specifico provvedimento regolamentare adottato in relazione alle prescrizioni di cui all'articolo 18, comma 1, lettera z);
b) siano curati la tenuta e l'aggiornamento del registro di controllo delle attrezzature di lavoro per cui lo stesso è previsto.
5. Le modifiche apportate alle macchine quali definite all'articolo 1, comma 2, del decreto del Presidente della Repubblica 24 luglio 1996, n. 459, per migliorarne le condizioni di sicurezza in rapporto - alle previsioni del comma 1, ovvero del comma 4, lettera a), numero 3), non configurano immissione sul mercato ai sensi dell'articolo 1, comma 3, secondo periodo, sempre che non comportino modifiche delle modalità di utilizzo e delle prestazioni previste dal costruttore. (20)6. Il datore di lavoro prende le misure necessarie affinché il posto di lavoro e la posizione dei lavoratori durante l'uso delle attrezzature presentino requisiti di sicurezza e rispondano ai principi dell'ergonomia.
7. Qualora le attrezzature richiedano per il loro impiego conoscenze o responsabilità particolari in relazione ai loro rischi specifici, il datore di lavoro prende le misure necessarie affinché:
a) l'uso dell'attrezzatura di lavoro sia riservato ai lavoratori allo scopo incaricati che abbiano ricevuto una informazione, formazione ed addestramento adeguati;
b) in caso di riparazione, di trasformazione o manutenzione, i lavoratori interessati siano qualificati in maniera specifica per svolgere detti compiti.
8. Fermo restando quanto disposto al comma 4, il datore di lavoro, secondo le indicazioni fornite dai fabbricanti ovvero, in assenza di queste, dalle pertinenti norme tecniche o dalle buone prassi o da linee guida, provvede affinché:
a) le attrezzature di lavoro la cui sicurezza dipende dalle condizioni di installazione siano sottoposte a un controllo iniziale (dopo l'installazione e prima della messa in esercizio) e ad un controllo dopo ogni montaggio in un nuovo cantiere o in una nuova località di impianto, al fine di assicurarne l'installazione corretta e il buon funzionamento;
b) le attrezzature soggette a influssi che possono provocare deterioramenti suscettibili di dare origine a situazioni pericolose siano sottoposte:
1. ad interventi di controllo periodici, secondo frequenze stabilite in base alle indicazioni fornite dai fabbricanti, ovvero dalle norme di buona tecnica, o in assenza di queste ultime, desumibili dai codici di buona prassi;
2. ad interventi di controllo straordinari al fine di garantire il mantenimento di buone condizioni di sicurezza, ogni volta che intervengano eventi eccezionali che possano avere conseguenze pregiudizievoli per la sicurezza delle attrezzature di lavoro, quali riparazioni, trasformazioni, incidenti, fenomeni naturali o periodi prolungati di inattività;
c) Gli interventi di controllo di cui alle lettere a) e b) sono volti ad assicurare il buono stato di conservazione e l'efficienza a fini di sicurezza delle attrezzature di lavoro e devono essere effettuati da persona competente.
9. I risultati dei controlli di cui al comma 8 devono essere riportati per iscritto e, almeno quelli relativi agli ultimi tre anni, devono essere conservati e tenuti a disposizione degli organi di vigilanza.
[...]
Norme tecniche
Norme costruttive
UNI 9465:1989 Ganci per apparecchi di sollevamento. Proprietà meccaniche, portate, tensioni e materiali.
UNI 9469-1:1989 Ganci per apparecchi di sollevamento. Ganci semplici greggi.
UNI 9469-2:1989 Ganci per apparecchi di sollevamento. Ganci semplici finiti con gambo filettato.
UNI 9470-1:1989 Ganci per apparecchi di sollevamento. Ganci doppi greggi.
UNI 9470-2:1989 Ganci per apparecchi di sollevamento. Ganci doppi finiti con gambo filettato.
UNI 9471:1989 Ganci per apparecchi di sollevamento. Filettatura tonda.
UNI 9472-1:1989 Ganci per apparecchi di sollevamento. Condizioni tecniche di fornitura per ganci fucinati.
Norme gestionali
UNI 9473-1:1989 Ganci per apparecchi di sollevamento. Controllo dei ganci fucinati in servizio.
Norme armonizzate Direttiva 2006/42/CE
UNI EN 13001-3-5:2022 Apparecchi di sollevamento - Criteri generali per il progetto - Parte 3-5: Stati limite e verifica dell'idoneità di ganci di sollevamento fucinati
UNI EN 1677-2:2008 Componenti per brache - Sicurezza - Parte 2: Ganci di sollevamento di acciaio fucinato con dispositivo di chiusura dell'imbocco, grado 8
UNI EN 1677-3:2008 Componenti per brache - Sicurezza - Parte 3: Ganci di sollevamento di acciaio fucinato con dispositivo di chiusura autobloccante dell'imbocco - Grado 8
UNI EN 1677-5:2009 Componenti per brache - Sicurezza - Parte 5: Ganci di sollevamento di acciaio fucinati con dispositivo di chiusura dell'imbocco - Grado 4
Altre norme/specifiche
ASME B30.10 Hooks - Safety Standard for Cableways, Cranes, Derricks, Hoists, Hooks, Jacks, and Slings
OSHA 1910.179 - Overhead and gantry cranes
[...]
Classificazione e classi di resistenza
Tabella 1 - Proprietà meccaniche dei materiali classificati UNI EN 13001-3-5:2022
[...]
Fig. 1 - Tipi di ganci semplici UNI EN 13001-3-5
[...]
Marcatura
Secondo la Guida Blu, un prodotto non può essere marcato CE, a meno che non sia coperto da un atto di armonizzazione dell'Unione che ne preveda l'apposizione, la marcatura CE non è specificata per i ganci nella Direttiva Macchine o in un'altra direttiva. Gancio e bozzello fanno parte della gru, poiché senza gancio e bozzello la gru non può eseguire un'operazione specifica. Il gancio e il bozzello del gancio non sono elementi separati nell'ambito di applicazione della Direttiva Macchine. Ciò è stato chiarito anche dalla Commissione nel capitolo 43 della Guida Direttiva Macchine Versione 2.2:
"Di norma, le macchine di sollevamento sono dotate di un dispositivo di tenuta del carico quale, ad esempio, un gancio. Tali dispositivi di tenuta del carico incorporati nelle macchine di sollevamento non devono essere considerati accessori di sollevamento."
Inoltre, neanche le norme di riferimento nei capitoli relativi i dati di Marcatura, riportati nel presente documento, richiamano la presenza della “marcatura CE”.
Secondo l'articolo 17 comma 1 l'apposizione della marcatura CE su prodotti non coperti dal Direttiva Macchine comporta una non conformità.
Ganci e bozzelli sono quindi componenti della gru e non devono riportare la marcatura CE. La marcatura CE dei ganci e dei bozzelli è "indebita apposizione".
Articolo 17 Non conformità della marcatura
1. Gli Stati membri considerano marcatura non conforme:
a) l'apposizione della marcatura "CE" a titolo della presente direttiva su prodotti non oggetto della medesima;
...
Fig. 5 - Apposizione Marcatura CE non conforme
[...]
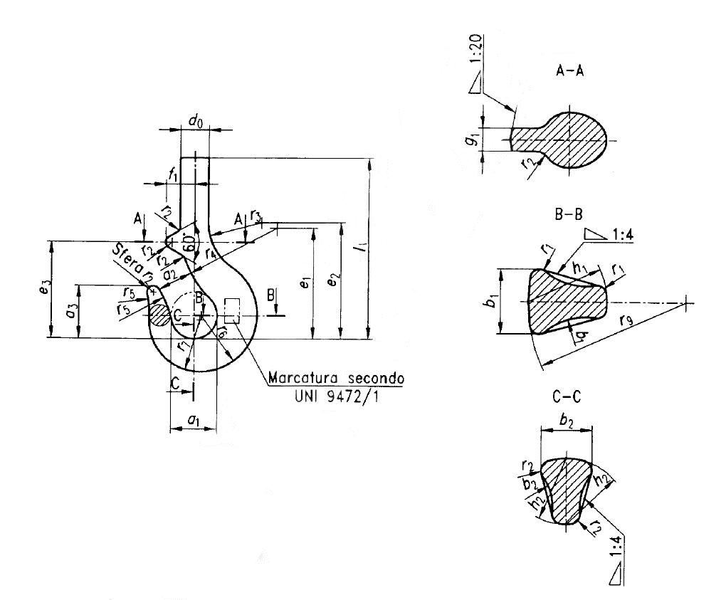
UNI 9472-1:1989 Ganci per apparecchi di sollevamento. Condizioni tecniche di fornitura per ganci fucinati.
3.7 Marcatura
Ogni gancio fucinato, conforme alla presente norme, deve essere contrassegnato in modo chiaro e duraturo nei punti indicati dalle UNI 9469-1 e UNI 9469-2 oppure UNI 9470-1 e UNI 9470-2 con le seguenti indicazioni:
1a riga: Simbolo del produttore
2a riga: Lettera delle classi di resistenza e n° del gancio secondo UNI 9465.
3a riga: Contrassegno secondo indicazione del committente, con aggiunta del numero progressivo del pezzo, in caso di più ganci uguali per ogni ordine, ad esempio 367.1, se necessario solo per ganci fucinati liberamente, se questa indicazione viene concordata con il committente.
4a riga: Il riferimento della presente norma.
Su ganci di carico fucinati a stampo le righe 1, 2 e 4 possono anche essere indicate di seguito.
Il contrassegno dimostra che è stato rispettato il capitolato tecnico di fornitura nonché le altre norme valide in questo caso.
UNI 9469-1:1989 - Marcatura gancio semplice GSN
[...]
Attestato di prova ganci fucinati (UNI 9472-1)
[...]
Check List verifica ganci fucinati
[...] segue in allegato
Certifico Srl - IT | Rev. 0.0 2024
Copia autorizzata Abbonati
Matrice revisioni
| Rev. | Data | Oggetto | Autore |
| 0.0 | 23.02.204 | --- | Certifico Srl |
Collegati
Direttiva 2006/42/CE
Marking of Cranes, Hooks and Hook Blocks considering European Legislation
La classificazione delle gru prevista dalla norma ISO 4306-1:2007
ISO 4301-1:2016 Classificazione di servizio apparecchi sollevamento
ISO 9927-3:2019 | Ispezioni gru a torre
ISO 9927-5:2017 | Ispezioni gru a ponte e cavalletto
Apparecchi di sollevamento: i requisiti sulle competenze per ispettori di gru
ISO 23813:2011 Apparecchi di sollevamento - Lista di controllo persona designata
ISO 18893:2014 Sicurezza PLE: Ispezioni, manutenzione e operatività
Vita residua apparecchi di sollevamento: come effettuare le indagini
Lista di Controllo per le Ispezioni regolari degli apparecchi di sollevamento
TUSSL / Link
| Descrizione | Livello | Dimensione | Downloads | |
|---|---|---|---|---|
| Check List di controllo e verifica ganci fucinati Rev. 00 2024.pdf Certifico Srl - Rev. 0.0 2024 |
1216 kB | 391 | ||
| Modello Check List verifica ganci fucinati Rev. 00 2024.docx Certifico Srl - Rev. 0.0 2024 |
147 kB | 234 | ||
| Attestato di prova ganci fucinati (UNI 9472-1) Rev. 00 2024.docx Certifico Srl - Rev. 0.0 2024 |
20 kB | 181 |
Tags: Sicurezza lavoro Rischio attrezzature lavoro Abbonati Sicurezza























