UNI 11578 Dispositivi di ancoraggio destinati all'installazione permanente
| ID 17097 | | Visite: 19422 | Documenti Riservati Normazione | Permalink: https://www.certifico.com/id/17097 |
UNI 11578 Dispositivi di ancoraggio destinati all'installazione permanente
ID 17097 | 14.07.2022 / Documento completo e modelli rapporti di prova allegati
Documento di approfondimento sui requisiti per i dispositivi di ancoraggio, che comprendono punti di ancoraggio fissi o mobili, destinati all’installazione permanente su o nella struttura, in accordo alla norma tecnica UNI 11578:2015 “Dispositivi di ancoraggio destinati all’installazione permanente - Requisiti e metodi di prova”.
Dispositivi di ancoraggio destinati all’installazione permanente - Requisiti e metodi di prova La norma specifica i requisiti e i metodi di prova per dispositivi di ancoraggio, che comprendono punti di ancoraggio fissi o mobili, destinati all’installazione permanente su o nella struttura, progettati per: - ospitare uno o più utenti collegati contemporaneamente; La norma fornisce inoltre i requisiti per la marcatura e le istruzioni per l’uso, e una guida per l’installazione. È basilare considerare che, nonostante siano specificati i requisiti e i metodi di prova per dispositivi di ancoraggio installati in strutture da simulare specificamente, la conformità ai requisiti di questa norma non sostituisce in alcun modo la verifica relativa al sistema di ancoraggio installato su o nella struttura specifica di installazione. La norma non si applica a:
- l’aggancio di componenti di un sistema anticaduta conformi alla UNI EN 363, anche quando questi ultimi sono progettati per l'uso in trattenuta.
- dispositivi di ancoraggio temporanei, rimovibili e trasportabili per i quali si applicano la UNI EN 795 o la UNI CEN/TS 16415;
- equipaggiamento progettato per essere conforme alla UNI EN 516 o alla UNI EN 517;
- elementi o parti di strutture che siano state installate per uso diverso da quello di punto di ancoraggio o dispositivo di ancoraggio, per esempio travi e colonne.
________ OT23 anno 2022 L’azienda ha installato, su edifici di cui ha la disponibilità giuridica, ancoraggi fissi e permanenti destinati e progettati per ospitare uno o più lavoratori collegati contemporaneamente e per agganciare i componenti di sistemi anti caduta. Punti 80 Gli ancoraggi devono essere fissati permanentemente “su” o “nella” struttura/opere di costruzione costituenti i luoghi di lavoro di cui il datore di lavoro dell’impresa richiedente ha la disponibilità giuridica. Documentazione ritenuta probante: - Relazione descrittiva dell’intervento effettuato datata e firmata entro la data di presentazione della domanda.
Note:
Gli ancoraggi finanziabili sono quelli conformi alla norma Uni 11578:2015 e riferibili alle categorie A, C, e D della stessa e caratterizzati dall’essere fissi e non trasportabili in accordo con quanto riportato nella Circolare del Ministero del Lavoro e delle Politiche Sociali n. 3 del 13/02/2015 (sistemi che non seguono il lavoratore alla fine del lavoro, ma restano fissati alla struttura, ancorché taluni componenti del sistema ì siano “rimovibili”, perché ad esempio avvitati ad un supporto).
- Fatture di acquisto e installazione degli ancoraggi con evidenza di marca e modello, relative all’anno 2021.
- Dichiarazione del datore di lavoro che attesti l’assenza di normativa regionale o che l’intervento non ricade nell’ambito dell’obbligo fissato dalla normativa regionale.
- Dichiarazione di conformità alla norma UNI 11578:2015.
Art. 111 - Obblighi del datore di lavoro nell'uso di attrezzature per lavori in quota 1. Il datore di lavoro, nei casi in cui i lavori temporanei in quota non possono essere eseguiti in condizioni di sicurezza e in condizioni ergonomiche adeguate a partire da un luogo adatto allo scopo, sceglie le attrezzature di lavoro più idonee a garantire e mantenere condizioni di lavoro sicure, in conformità ai seguenti criteri: a) priorità alle misure di protezione collettiva rispetto alle misure di protezione individuale; 2. Il datore di lavoro sceglie il tipo più idoneo di sistema di accesso ai posti di lavoro temporanei in quota in rapporto alla frequenza di circolazione, al dislivello e alla durata dell'impiego. Il sistema di accesso adottato deve consentire l'evacuazione in caso di pericolo imminente. Il passaggio da un sistema di accesso a piattaforme, impalcati, passerelle e viceversa non deve comportare rischi ulteriori di caduta. 3. Il datore di lavoro dispone affinché sia utilizzata una scala a pioli quale posto di lavoro in quota solo nei casi in cui l'uso di altre attrezzature di lavoro considerate più sicure non è giustificato a causa del limitato livello di rischio e della breve durata di impiego oppure delle caratteristiche esistenti dei siti che non può modificare. 4. Il datore di lavoro dispone affinché siano impiegati sistemi di accesso e di posizionamento mediante funi alle quali il lavoratore è direttamente sostenuto, soltanto in circostanze in cui, a seguito della valutazione dei rischi, risulta che il lavoro può essere effettuato in condizioni di sicurezza e l'impiego di un'altra attrezzatura di lavoro considerata più sicura non è giustificato a causa della breve durata di impiego e delle caratteristiche esistenti dei siti che non può modificare. Lo stesso datore di lavoro prevede l'impiego di un sedile munito di appositi accessori in funzione dell'esito della valutazione dei rischi ed, in particolare, della durata dei lavori e dei vincoli di carattere ergonomico. 5. Il datore di lavoro, in relazione al tipo di attrezzature di lavoro adottate in base ai commi precedenti, individua le misure atte a minimizzare i rischi per i lavoratori, insiti nelle attrezzature in questione, prevedendo, ove necessario, l'installazione di dispositivi di protezione contro le cadute. I predetti dispositivi devono presentare una configurazione ed una resistenza tali da evitare o da arrestare le cadute da luoghi di lavoro in quota e da prevenire, per quanto possibile, eventuali lesioni dei lavoratori. I dispositivi di protezione collettiva contro le cadute possono presentare interruzioni soltanto nei punti in cui sono presenti scale a pioli o a gradini. 6. Il datore di lavoro nel caso in cui l'esecuzione di un lavoro di natura particolare richiede l'eliminazione temporanea di un dispositivo di protezione collettiva contro le cadute, adotta misure di sicurezza equivalenti ed efficaci. Il lavoro è eseguito previa adozione di tali misure. Una volta terminato definitivamente o temporaneamente detto lavoro di natura particolare, i dispositivi di protezione collettiva contro le cadute devono essere ripristinati. 7. Il datore di lavoro effettua i lavori temporanei in quota soltanto se le condizioni meteorologiche non mettono in pericolo la sicurezza e la salute dei lavoratori. 8. Il datore di lavoro dispone affinché sia vietato assumere e somministrare bevande alcoliche e superalcoliche ai lavoratori addetti ai cantieri temporanei e mobili e ai lavori in quota. […] Art. 115 - Sistemi di protezione contro le cadute dall'alto 1. Nei lavori in quota qualora non siano state attuate misure di protezione collettiva come previsto all'articolo 111, comma 1, lettera a), è necessario che i lavoratori utilizzino idonei sistemi di protezione idonei per l'uso specifico composti da diversi elementi, non necessariamente presenti contemporaneamente, conformi alle norme tecniche, quali i seguenti: a) assorbitori di energia; 2. Comma soppresso dal D.Lgs. 3 agosto 2009 n. 106. 3. Il sistema di protezione deve essere assicurato, direttamente o mediante connettore lungo una guida o linea vita, a parti stabili delle opere fisse o provvisionali. 4. Nei lavori su pali il lavoratore deve essere munito di ramponi o mezzi equivalenti e di idoneo dispositivo anticaduta. 1. Il datore di lavoro impiega sistemi di accesso e di posizionamento mediante funi in conformità ai seguenti requisiti: a) sistema comprendente almeno due funi ancorate separatamente, una per l'accesso, la discesa e il sostegno, detta fune di lavoro, e l'altra con funzione di dispositivo ausiliario, detta fune di sicurezza. È ammesso l'uso di una fune in circostanze eccezionali in cui l'uso di una seconda fune rende il lavoro più pericoloso e se sono adottate misure adeguate per garantire la sicurezza; La fune di sicurezza deve essere munita di un dispositivo mobile contro le cadute che segue gli spostamenti del lavoratore; d) attrezzi ed altri accessori utilizzati dai lavoratori, agganciati alla loro imbracatura di sostegno o al sedile o ad altro strumento idoneo; 2. Il datore di lavoro fornisce ai lavoratori interessati una formazione adeguata e mirata alle operazioni previste, in particolare in materia di procedure di salvataggio. 3. La formazione di cui al comma 2 ha carattere teorico-pratico e deve riguardare: a) l'apprendimento delle tecniche operative e dell'uso dei dispositivi necessari; 4. I soggetti formatori, la durata, gli indirizzi ed i requisiti minimi di validità dei corsi sono riportati nell'allegato XXI.
b) dimensioni delle attrezzature di lavoro confacenti alla natura dei lavori da eseguire, alle sollecitazioni prevedibili e ad una circolazione priva di rischi.
b) connettori;
c) dispositivo di ancoraggio;
d) cordini;
e) dispositivi retrattili;
f) guide o linee vita flessibili;
g) guide o linee vita rigide;
h) imbracature.
b) lavoratori dotati di un'adeguata imbracatura di sostegno collegata alla fune di sicurezza;
c) fune di lavoro munita di meccanismi sicuri di ascesa e discesa e dotata di un sistema autobloccante volto a evitare la caduta nel caso in cui l'utilizzatore perda il controllo dei propri movimenti.
e) lavori programmati e sorvegliati in modo adeguato, anche al fine di poter immediatamente soccorrere il lavoratore in caso di necessità. Il programma dei lavori definisce un piano di emergenza, le tipologie operative, i dispositivi di protezione individuale, le tecniche e le procedure operative, gli ancoraggi, il posizionamento degli operatori, i metodi di accesso, le squadre di lavoro e gli attrezzi di lavoro;
f) il programma di lavoro deve essere disponibile presso i luoghi di lavoro ai fini della verifica da parte dell'organo di vigilanza competente per territorio di compatibilità ai criteri di cui all'articolo 111, commi 1 e 2.
b) l'addestramento specifico sia su strutture naturali, sia su manufatti;
c) l'utilizzo dei dispositivi di protezione individuale, loro caratteristiche tecniche, manutenzione, durata e conservazione;
d) gli elementi di primo soccorso;
e) i rischi oggettivi e le misure di prevenzione e protezione;
f) le procedure di salvataggio.
Estratto UNI 11578:2015
[…]
3 Termini e definizioni
3.1 ancoraggio: Insieme comprendente la struttura di supporto (materiale base), l’ancorante e l’elemento da fissare cui può essere collegato il sistema di protezione individuale dalle cadute.
Nota L’elemento da fissare può essere un dispositivo di ancoraggio progettato per il collegamento esclusivo di un sottosistema di protezione individuale contro le cadute dall’alto, come quelli descritti nella presente norma, oppure un dispositivo che incorpora tale funzione, come i ganci di sicurezza da tetto descritti nella UNI EN 517, o dispositivi similari.
Legenda
1 Punto di ancoraggio
2 Materiale base
3 Fissaggio (per esempio: inghisato, avvitato, inchiodato, saldato, incollato con ancorante chimico)
4 Calcestruzzo, isolamento o altra copertura
Figura 1 - Esempi di ancoraggi
[...]
3.5.1 dispositivo di ancoraggio di tipo A: Dispositivo di ancoraggio in un ancoraggio puntuale con uno o più punti di ancoraggio non scorrevoli.
Nota I punti di ancoraggio possono ruotare o essere snodati, o essere incorporati a scomparsa nella struttura ed essere estratti all’occorrenza, laddove il progetto lo preveda.
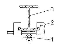
Legenda
1 Punto di ancoraggio
2 Struttura
3 Ancoraggio strutturale
4 Dispositivo di ancoraggio
5 Fissaggio permanente
Figura 2 - Dispositivo di ancoraggio di tipo A con un ancoraggio strutturale
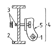
Legenda
1 Punto di ancoraggio
2 Struttura
3 Elemento di fissaggio
4 Dispositivo di ancoraggio
5 Elemento
Figura 3 - Dispositivo di ancoraggio di tipo A con un elemento di fissaggio
3.5.2 dispositivo di ancoraggio di tipo C: Dispositivo di ancoraggio in un ancoraggio lineare che utilizza una linea di ancoraggio flessibile che devia dall’orizzontale di non più di 15° (quando misurata tra l’estremità e gli ancoraggi intermedi a qualsiasi punto lungo la sua lunghezza).
Legenda
1 Ancoraggio di estremità
2 Ancoraggio intermedio
3 Punto di ancoraggio mobile
4 Linea di ancoraggio flessibile
Figura 4 - Dispositivo di ancoraggio di tipo C
3.5.3 dispositivo di ancoraggio di tipo D: Dispositivo di ancoraggio in un ancoraggio lineare che utilizza una linea di ancoraggio rigida che devia dall’orizzontale di non più di 15° (quando misurata tra l’estremità e gli ancoraggi intermedi a qualsiasi punto lungo la sua lunghezza).
Legenda
1 Ancoraggio di estremità o intermedio
2 Punto di ancoraggio mobile
3 Giunzione della linea di ancoraggio rigida
4 Linea di ancoraggio rigida
Figura 5 - Dispositivo di ancoraggio di tipo D
[...]
Dispositivo di ancoraggio di tipo B: dispositivo di ancoraggio con uno o più punti di ancoraggio stazionari senza la necessità di ancoraggio(i) strutturale(i) o elemento(i) di fissaggio per fissarlo alla struttura.
Legenda
1 Punto di ancoraggio
2 Dispositivo di ancoraggio
3 Struttura
Figura 6 - Dispositivo di ancoraggio di tipo B | Treppiede
Legenda
1 Punto di ancoraggio
2 Dispositivo di ancoraggio
3 Struttura
Figura 7 - Dispositivo di ancoraggio di tipo B | Braca
Legenda
1 Punto di ancoraggio
2 Dispositivo di ancoraggio
3 Struttura
Figura 8 - Dispositivo di ancoraggio di tipo B | Ancoraggio a porta
Legenda
1 Punto di ancoraggio
2 Dispositivo di ancoraggio
3 Struttura
Figura 9 - Dispositivo di ancoraggio di tipo B | Ancoraggio su trave
Dispositivo di ancoraggio di tipo E: dispositivo di ancoraggio per l’uso su superfici fino a 5° dall’orizzontale laddove la prestazione si basa esclusivamente sulla massa e sulla frizione tra il dispositivo stesso e la superficie.
Legenda
1 Punto di ancoraggio
2 Massa
3 Struttura
Figura 10 - Dispositivo di ancoraggio di tipo B | Ancoraggio su trave
[...]
6 Marcatura
La marcatura dei dispositivi di ancoraggio deve essere conforme alla UNI EN 365 e, in aggiunta, deve riportare il numero massimo permesso di utilizzatori collegati contemporaneamente.
In aggiunta ai requisiti di cui sopra, l’accesso alla copertura deve essere dotato di una targa che riporti almeno i seguenti contenuti:
- un’avvertenza di consultare i contenuti del fascicolo del sistema di ancoraggio;
- la data della successiva ispezione oppure la data dell’ultima ispezione insieme con la periodicità prevista per le ispezioni;
- un’avvertenza di non utilizzare il sistema di ancoraggio se l’ispezione non è stata effettuata.
Figura 11 - Esempio Marcatura
[...]
A.3 Assistenza alla procedura di ispezione periodica
La figura A.1 fornisce un esempio di procedura di ispezione periodica.
Figura A.1 Esempio di procedura per l’ispezione periodica
Esempio modello rapporto di prova TIPO A
[...] segue in allegato
Fonti
UNI 11578:2015
Certifico Srl - IT | Rev. 0.0 2022
©Copia autorizzata Abbonati
Matrice Revisioni:
| Rev. | Data | Oggetto | Autore |
| 0.0 | 15.07.2022 | --- | Certifico Srl |
Collegati
UNI 11560:2022 | Guida sistemi di ancoraggio permanenti in copertura
UNI EN 795:2012 | Dispositivi di ancoraggio
Imbracature di sicurezza per il corpo: Norme, Requisiti e Registro di controllo
Modello Riduzione tasso medio prevenzione INAIL anno 2022 | OT23
D.Lgs. 81/2008 Testo Unico Salute e Sicurezza Lavoro
| Descrizione | Livello | Dimensione | Downloads | |
|---|---|---|---|---|
| UNI 11578 Dispositivi di ancoraggio destinati all'installazione permanente Rev. 0.0 2022.pdf Certifico Srl - Rev. 0.0 2022 |
570 kB | 301 | ||
| Esempio modello rapporto di prova TIPO A Rev. 0.0 2022.docx Certifico Srl - Rev. 0.0 2022 |
17 kB | 127 | ||
| Esempio modello rapporto di prova TIPO C Rev. 0.0 2022.docx Certifico Srl - Rev. 0.0 2022 |
19 kB | 113 | ||
| Esempio modello rapporto di prova TIPO D Rev. 0.0 2022.docx Certifico Srl - Rev. 0.0 2022 |
19 kB | 111 |


















