RAPEX Report 34 del 23/08/2019 N. 8 A12/1277/19 Paesi Bassi
| ID 9008 | | Visite: 1888 | RAPEX 2019 | Permalink: https://www.certifico.com/id/9008 |

RAPEX: Rapid Alert System for Non-Food Consumer Products
Report 34 del 23/08/2019 N. 8 A12/1277/19 Paesi Bassi
Approfondimento tecnico: Scala telescopica
Il prodotto, di marca Batavia, mod. BT-TL001, è stato sottoposto alla procedura di richiamo presso i consumatori perché non conforme alla norma tecnica europea EN 131-6:2019 “Scale - Parte 6: Scale telescopiche”.
La rotazione angolare della scala è troppo elevata, influenzando la stabilità dell'utilizzatore.
Di conseguenza, l'utilizzatore potrebbe perdere l'equilibrio e cadere dalla scala.
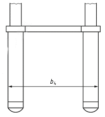
In accordo al punto 5.6 della norma tecnica EN 131-6:2019 la larghezza della base di appoggio della scala con una lunghezza di 3000 mm o superiore deve essere calcolata con la seguente formula:
b2 = b4 + 0,1 + l1
Figura 1 - Dimensioni
| Descrizione | Livello | Dimensione | Downloads | |
|---|---|---|---|---|
| RAPEX Report 34 del 23_08_2019 N. 8 A12_1277_19 Paesi Bassi.pdf Scala telescopica |
346 kB | 6 |
Tags: RAPEX














