EN ISO 14119 | Interblocchi
| ID 324 | | Visite: 29453 | Documenti Riservati Marcatura CE | Permalink: https://www.certifico.com/id/324 |
EN ISO 14119:2025 Dispositivi di interblocco associati ai ripari / Rev. 2.0 Giugno 2025
ID 324 | Rev. 2.0 del 19.06.2025 / Documento di lavoro e foglio di calcolo in allegato
Documento di approfondimento basato sulla norma EN ISO 14119:2025. La norma specifica i principi per la progettazione e la scelta, indipendentemente dalla natura della fonte di energia, dei dispositivi di interblocco associati ai ripari.
Allegato foglio di calcolo per la valutazione della possibile elusione dei dispositivi di interblocco di cui all'allegato G.
________
L’edizione 2025 sostituisce la EN ISO 14119:2013. Le principali novità della nuova edizione riguardano:
- integrazione dei dispositivi di interblocco a chiave intrappolata coperti della norma ISO/TS 19837:2018 “Sicurezza del macchinario - Dispositivo di interblocco a chiave intrappolata - Principi di progettazione e selezione”. Le chiavi intrappolate sono classificate come “dispositivi di interblocco di Tipo 5". La ISO/TS 19837:2018 è stata ritirata a Dicembre 2024;
- inclusione dei criteri di Fault Masking, fino ad ora coperti dalla norma ISO/TR 24119:2015 “Safety of machinery - Evaluation of the serial link for masking faults of interlocking devices associated with protections with potential free contacts”;
- test e procedure sono descritte nel nuovo allegato I;
- indicazioni specifiche per la Tabella 5: “Misure aggiuntive contro la disattivazione dei dispositivi di interblocco a seconda del tipo” (Tabella 6 del presente documento).
La norma EN ISO 14119:2025 con l'allegato G, e la tabella di riferimento G.1, propone un metodo valutativo per l'analisi e l'identificazione di possibili incentivi per l'elusione dei dispositivi di interblocco. Nel file .xlsx allegato, il metodo della norma è stato integrato con una proposta per un'analisi quantitativa del problema andando ad individuare 3 livelli per l'analisi dei motivi che possano portare all'elusione dei dispositivi di interblocco: basso, medio, alto. Il file è completamente modificabile dall'utente in modo da poterlo adeguare al proprio metodo di lavoro.
Data entrata in vigore: 12 marzo 2025
Sostituisce: EN ISO 14119:2013
Recepita in Italia con UNI EN ISO 14119:2025 (Entrata in vigore: 05 giugno 2025)
Alla data di pubblicazione del presente documento la nuova edizione non è ancora armonizzata per la Direttiva 2006/42/CE Macchine.
I requisiti per i ripari che proteggono le persone dai pericoli di natura meccanica sono trattati dalla ISO 14120:2015 mentre l’elaborazione del segnale dal dispositivo di interblocco per l’arresto e l’immobilizzazione della macchina è trattato dalla EN ISO 13849-1:2023 o EN 62061:2005.
La norma è di tipo B2.
Tabella ZA.1 EN ISO 14119:2025 – Corrispondenza tra la norma e l’allegato I della Direttiva 2006/42/CE
[...]
Classificazione
Un dispositivo di interblocco è costituito da 3 elementi:
- sistema di azionamento,
- sistema di uscita.
Tabella 1 – Panoramica dispositivi di interblocco
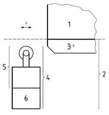
Tipo 1: dispositivo di interblocco con un interruttore di posizione attuato meccanicamente con un attuatore non codificato
Fig. 1 - Tipo 1 interblocco con azionamento a camma (riparo aperto)
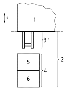
Tipo 2: dispositivo di interblocco con un interruttore di posizione attuato meccanicamente con un attuatore codificato
Fig. 2 - Tipo 2 interblocco con azionamento a chiavetta (riparo aperto)
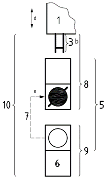
Tipo 3: dispositivo di interblocco con un interruttore di posizione attuato senza contatto con un attuatore non codificato
Tipo 4: dispositivo di interblocco con un interruttore di posizione attuato senza contatto con un attuatore codificato
Fig. 3 - Tipo 3 o 4 interblocco con azionamento senza contatto codificato o non codificato (riparo chiuso)
Tipo 5: sistema di interblocco a chiave intrappolata
Fig. 4 - Tipo 5 sistema di interblocco a chiave intrappolata comprendente rispettivamente due dispositivi di interblocco a chiave intrappolata. Dispositivi di interblocco di tipo 5 (riparo aperto)
[...]
Valutazione della forza di ritenuta
Tabella 4 – Valutazione della forza di ritenuta
[...]
Analisi elusione dispositivi
Fig. 13 – Analisi possibilità elusione dispositivi
Note
a Modi operativi
b Vantaggi senza riparo: 0 = nessuno; + = limitati; ++ = sostanziali
Tabella 5 – Matrice analisi possibile elusione
[...]
Scelta del dispositivo
Il seguente diagramma di flusso riepiloga tutti i passaggi necessari per la valutazione del rischio e l’applicazione della norma EN ISO 14119:2025.
La scelta del dispositivo deve essere effettuata in base a:
- Temperatura
- Umidità
- Sporco
- Shock/vibrazioni
- Atmosfera esplosiva
- Forze di ritenuta necessarie
- PLr
- Indicazioni allegati A-G EN ISO 14119:2025
Fig. 14 - Scelta del dispositivo, valutazione del rischio e applicazione EN ISO 14119:2025
[...] Segue in allegato (Documento di lavoro | Foglio di calcolo valutazione elusioni)
Fonti
EN ISO 14119:2025
EN ISO 14119:2013
Linea guida INAIL - Il defeating di un dispositivo di interblocco associato ai ripari
Certifico Srl - IT | Rev. 2.0 2025
©Copia autorizzata Abbonati
Matrice Revisioni
| Rev. | Data | Oggetto | Autore |
| 2.0 | 19.06.2025 | Aggiornamento in accordo EN ISO 14119:2025 | Certifico Srl |
| 1.0 | 25.11.2020 | Aggiornamento normativo | Certifico Srl |
| 0.0 | 18.06.2015 | --- | Certifico Srl |
Maggiori Info e acquisto Documento
Collegati
Direttiva Macchine 2006/42/CE
Norme Armonizzate Direttiva Macchine 2006/42/CE (DM)
Macchine: misure di protezione e dispositivi complementari
ISO/TS 19837:2018 - Trapped key interlocking devices
EN ISO 14119 Allegato I: analisi della forza di tenuta interblocchi
Interblocchi e sicurezza positiva: esempi di installazione
Defeating dispositivo di interblocco associato ai ripari
| Descrizione | Livello | Dimensione | Downloads | |
|---|---|---|---|---|
| EN ISO 14119 2025 Dispositivi di interblocco associati ai ripari Rev. 2.0 2025.zip Certifico Srl - Rev. 2.0 2025 |
635 kB | 77 | ||
| EN ISO 14119 2013 Dispositivi di interblocco associati ai ripari Rev. 1.0 2020.zip Certifico Srl - Rev. 1.0 2020 |
430 kB | 288 | ||
| EN ISO 14119 2013 Dispositivi di interblocco associati ai ripari Rev. 00 2015.zip Certifico Srl - Rev. 00 2015 |
808 kB | 285 |


























