UNI EN 1672-2 Macchine industria alimentare / Valutazione del rischio alimentare
| ID 19636 | | Visite: 9698 | Documenti Riservati Direttiva macchine | Permalink: https://www.certifico.com/id/19636 |
UNI EN 1672-2:2021 Macchine per l’industria alimentare / Valutazione del rischio alimentare
ID 19636 | 16.05.2023 / Documento in allegato
Il Documento, estratto dalla norma UNI EN 1672-2:2021, tratta dei requisiti di igiene delle macchine alimentari con:
- RESS / EN 1672-2 applicabili alle macchine alimentari
- Esempi di gruppi di macchine per l'industria alimentare interessate dalla EN 1672-2
- Termini e definizioni EN 1672-2
- Elenco dei pericoli significativi
- Processo iterativo di riduzione del rischio di igiene
- Esempi di rischi di igiene e soluzioni accettabili
________
UNI EN 1672-2:2021
Macchine per l’industria alimentare - Concetti di base - Parte 2: Requisiti di igiene e pulibilità
La norma stabilisce i requisiti di igiene e di pulibilità comuni alle macchine e ai componenti delle macchine utilizzate per la preparazione e la lavorazione degli alimenti destinati al consumo umano e, se pertinente, animale per eliminare o ridurre al minimo il rischio di contagio, infezione, malattia o danno originato da tali alimenti ad un livello accettabile.
Per le macchine alimentari i RESS della Direttiva macchine 2006/42/CE sono quelli dell’Allegato I punto 1 e dell’Allegato I punto 2.1 (RESS supplementari per macchine elementari).
La presente norma è Presunzione di Conformità ai RESS (di igiene) dell’Allegato I punto 2.1.
Fig. 1 - RESS / EN 1672-2 applicabili alle macchine alimentari (requisiti di igiene)
Allegato I
2.1. MACCHINE ALIMENTARI E MACCHINE PER PRODOTTI COSMETICI O FARMACEUTICI
2.1.1. Considerazioni generali
Le macchine destinate ad essere utilizzate per prodotti alimentari o per prodotti cosmetici o farmaceutici devono essere progettate e costruite in modo da evitare qualsiasi rischio di infezione, di malattia e di contagio.
Vanno osservati i seguenti requisiti:
a) i materiali a contatto o che possono venire a contatto con prodotti alimentari, cosmetici o farmaceutici devono essere conformi alle direttive in materia. La macchina deve essere progettata e costruita in modo tale che detti materiali possano essere puliti prima di ogni utilizzazione; se questo non è possibile devono essere utilizzati elementi monouso;
b) tutte le superfici a contatto con i prodotti alimentari, cosmetici o farmaceutici ad eccezione di quelle degli elementi monouso devono:
- essere lisce e prive di rugosità o spazi in cui possono fermarsi materie organiche. Lo stesso requisito va rispettato per i collegamenti fra le superfici,
- essere progettate e costruite in modo da ridurre al minimo le sporgenze, i bordi e gli angoli,
- poter essere pulite e disinfettate facilmente, se del caso, dopo aver asportato le parti facilmente smontabili; gli angoli interni devono essere raccordati con raggi tali da consentire una pulizia completa;
c) i liquidi e i gas aerosol provenienti da prodotti alimentari, cosmetici o farmaceutici e dai prodotti di pulizia, di disinfezione e di risciacquatura devono poter defluire completamente verso l'esterno della macchina (se possibile in una posizione "pulizia");
d) la macchina deve essere progettata e costruita al fine di evitare l'ingresso di sostanze o di esseri vivi, in particolare insetti o accumuli di materie organiche, in zone impossibili da pulire;
e) la macchina deve essere progettata e costruita in modo che i prodotti ausiliari pericolosi per la salute, inclusi i lubrificanti, non possano entrare in contatto con i prodotti alimentari, cosmetici o farmaceutici. All'occorrenza, la macchina deve essere progettata e costruita per permettere di verificare regolarmente il rispetto di questo requisito.
2.1.2. Istruzioni
Le istruzioni delle macchine alimentari e delle macchine destinate ad essere utilizzate per prodotti cosmetici o farmaceutici devono indicare i prodotti e i metodi raccomandati per la pulizia, la disinfezione e la risciacquatura non solo delle parti facilmente accessibili ma anche delle parti alle quali è impossibile o sconsigliato accedere.
...
3 TERMINI E DEFINIZIONI
Ai fini del presente documento, si applicano i termini e le definizioni di cui alla EN ISO 12100:2010 e i termini e definizioni seguenti.
Per l'utilizzo in ambito normativo l'ISO e l'IEC dispongono di banche dati terminologiche ai seguenti indirizzi:
- IEC Electropedia: disponibile all'indirizzo http://www.electropedia.org/
- ISO Online browsing platform: disponibile all'indirizzo https://www.iso.org/obp
3.1 alimento: Qualsiasi prodotto, ingrediente o materiale destinato a essere consumato per via orale dall'uomo o da un animale.
Nota 1
La definizione si riferisce agli alimenti secondo l'art. 2 del Regolamento (CE) n. 178/2002 e ai mangimi.
3.2 igiene: Attuazione di tutte le misure necessarie durante la preparazione e la lavorazione di alimenti per garantirne l'idoneità al consumo umano o animale.
3.3 distanza di accesso, P: Distanza dal punto di accesso libero della macchina più vicino, secondo l'installazione prevista, per raggiungere il punto più lontano di tutte le aree da pulire.
Nota 1
I punti di accesso sono illustrati nella Figura 21.
3.4 alterazione: Effetto che provoca una riduzione significativa dell'idoneità al consumo di un alimento.
Nota 1
Un alimento può essere alterato, in particolare da parte di agenti microbici patogeni o altri microorganismi indesiderati, tossine, animali nocivi o altri contaminanti.
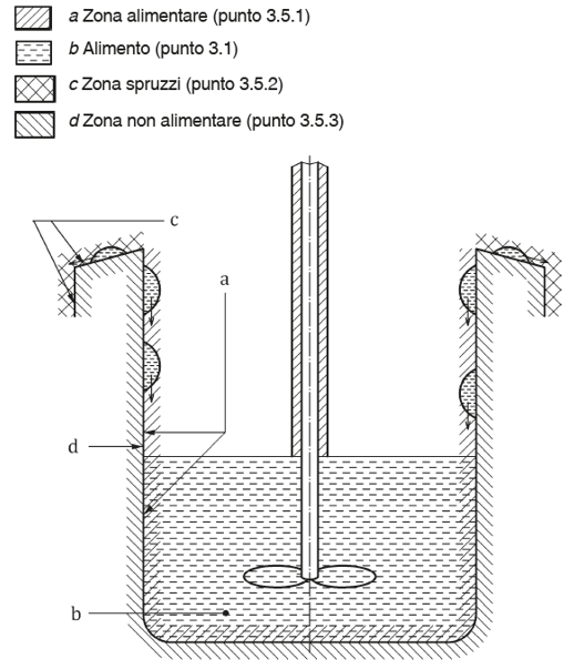
3.5 zone e componenti della macchina: Zona alimentare, zona spruzzi e zona non alimentare, così come definite di seguito (vedere i punti da 3.5.1 a 3.5.3) e illustrate nella Figura 1.
Nota 1
Queste zone non sono da confondere con quelle definite in altre norme (per esempio, norme elettrotecniche).
3.5.1 zona alimentare: Superfici della macchina e dei suoi componenti esposte agli alimenti o da cui gli alimenti, o altri materiali, possono defluire, sgocciolare, diffondersi o rientrare negli alimenti.
3.5.2 zona spruzzi: Zona composta da superfici sulle quali parte degli alimenti può schizzare o ricadere in precise condizioni di utilizzo senza ritornare negli alimenti.
Nota 1
Le parti di alimenti nella zona spruzzi non sono più considerate alimento ai sensi del punto 3.1.
3.5.3 zona non alimentare: Qualsiasi zona diversa da quella alimentare o spruzzi.
figura 1 Zone dell'attrezzatura
Legenda
4 ELENCO DEI PERICOLI SIGNIFICATIVI
I pericoli significativi possono derivare da:
a) cause microbiologiche, per esempio:
1) patogeni (per esempio, patogeni opportunisti come salmonella, enterobacter, batteri coliformi);
2) tossine microbiologiche (per esempio, prodotte da Bacillus cereus, Staphylococcus aureus) e ammine biogene di patogeni;
3) microorganismi;
4) altre cause biologiche, per esempio:
- animali nocivi mono e pluricellulari (per esempio, toxoplasmi, tenie);
- agenti anomali trasmissibili.
[...]
5 REQUISITI DI IGIENE E PULIBILITÀ
5.1 Processo iterativo di riduzione del rischio di igiene
5.1.1 Generalità
I requisiti di igiene e pulibilità delle diverse zone dell'attrezzatura sono descritti nel punto
5.2. Essi dipendono dai pericoli significativi descritti nel punto 4 e dalle funzioni delle varie zone dell'attrezzatura.
L'obiettivo principale è eliminare o ridurre i rischi a un livello accettabile. La valutazione dei rischi di igiene e il processo di riduzione dei rischi di igiene seguono la metodologia descritta nella EN ISO 12100:2010. Per poter gestire i rischi di igiene e la pulibilità, il processo è stato modificato come illustrato nella Figura 2. Per applicare questo metodo, si devono seguire i passaggi e rispondere alle domande nell'ordine indicato nella figura.
Questo processo iterativo di riduzione del rischio deve essere eseguito separatamente per ciascun pericolo, situazione pericolosa, alle condizioni d'uso previste.
Si raccomanda di far eseguire il processo iterativo di riduzione del rischio di igiene da un gruppo anziché da una sola persona.
Processo iterativo di riduzione del rischio di igiene
Figura 2 - Processo iterativo di riduzione del rischio di igiene
NOTA
Le spiegazioni dei numeri da 1 a 28 sono riportate ai punti da 5.1.2 a 5.1.4.
5.1.2 Valutazione del rischio di igiene (vedere Figura 2, elemento 27)
5.1.2.1 Generalità
La valutazione di rischio include:
a) analisi del rischio di igiene;
b) valutazione del rischio di igiene.
5.1.2.2 Analisi dei rischi di igiene (vedere Figura 2, elemento 26)
5.1.2.2.1 Generalità
Analisi dei rischi di igiene, inclusi:
a) determinazione dei limiti della macchina,
b) identificazione dei pericoli relativi alla sicurezza degli alimenti, e
c) stima dei rischi di igiene.
L'analisi dei rischi di igiene offre le informazioni necessarie per la valutazione dei rischi di igiene (vedere punto 5.1.2.3) che, a sua volta, permette di valutare l'eventuale necessità di riduzione o meno del rischio (vedere punto 5.1.2.4).
5.1.2.2.2 Determinazione dei limiti della macchina (vedere Figura 2, elemento 2)
5.1.2.2.2.1 Generalità
La valutazione dei rischi deve iniziare con la determinazione dei limiti della macchina, tenendo conto di tutte le fasi della vita della stessa.
[...]
5.1.2.2.5 Stima dei rischi di igiene (vedere Figura 2, elemento 4)
5.1.2.2.5.1 Generalità
Una volta eseguita l'identificazione dei pericoli relativi alla sicurezza alimentare, si deve effettuare una stima dei rischi di igiene per ciascun pericolo.
Si deve tenere conto degli elementi di rischio indicati nei punti da 5.1.2.2.5.2 a 5.1.2.2.5.4 e degli aspetti da considerare descritti nei punti da 5.1.2.2.5.5 a 5.1.2.2.5.8.
I pericoli relativi alla sicurezza alimentare possono generare alimenti non sicuri, il cui consumo può causare danni per la salute.
5.1.2.3 Valutazione dei rischi di igiene (vedere Figura 2 elemento 5)
Dopo la stima dei rischi di igiene, deve essere eseguita una valutazione dei rischi di igiene per determinare se la riduzione del rischio di igiene è necessaria o se la sicurezza alimentare è stata raggiunta riducendo i rischi a un livello accettabile.
L'obiettivo di questa valutazione è di determinare quali pericoli per la sicurezza alimentare, se del caso, richiedono un'ulteriore riduzione del rischio.
Si dovrebbe avere cura di non sottovalutare le misure più semplici ed efficaci di riduzione dei rischi relativamente bassi a favore di un'attenzione esclusiva ai rischi più alti.
[...]
APPENDICE B (informativa)
ESEMPI DI RISCHI DI IGIENE E SOLUZIONI ACCETTABILI
Certifico Srl - IT | Rev. 0.0 2023
©Copia autorizzata Abbonati
Collegati
EN 1672-2 Macchine industria alimentare: Requisiti di igiene - Testo requisiti
EN ISO 1672-2 Macchine industria alimentare: Requisiti di igiene - File CEM
Direttiva macchine 2006/42/CE
Macchine alimentari: Direttiva macchine & MOCA
Check list Igiene macchine alimentari Rev. 01.2013
Criteri per la progettazione igienica di macchine alimentari - EHEDG
Illustrazioni corretta progettazione igienica macchine alimentari: EN 1672-2 Allegato A/B
| Descrizione | Livello | Dimensione | Downloads | |
|---|---|---|---|---|
| UNI EN 1672-2 Macchine industria alimentare - Valutazione del rischio alimentare Rev. 00 2023.pdf Certifico Srl - Rev. 0.0 2023 |
1307 kB | 163 |




























